Германские танки

We use cookies. Read the Privacy and Cookie Policy

Преодоление скепсиса

С осени 1916 г. танкобоязнь стала типичной болезнью в германских окопах. Любопытно, что разведка союзников указывала, что, по сообщениям пленных, германские солдаты «в особенности опасаются, как бы они (танки) не были вооружены огнеметами». Германское командование всячески старалось сгладить остроту проблемы, подчеркивая реальные и мнимые недостатки нового оружия. «Танки — это нелепая фантазия и шарлатанство… Вскоре здоровая душа доброго немца успокаивается, и он легко борется с глупой машиной», — одна из «ободряющих» фраз того времени. Но одно дело — рассылаемые в войска «для поднятия духа» приказы и листовки, и совсем другое — практические работы. Ставка Главного командования (OHL — Oberste Heeresleitung) поначалу не восприняла танк как серьезную опасность, Этому способствовали неудачи одиночных Mk I в ноябрьских боях. По ряду свидетельств, скепсис германского Главного командования в отношении танков старалась поддержать рядом мероприятий и британская разведка. Но, несмотря на весь скептицизм, военное руководство обязано было принять меры, во-первых, для защиты войск от появившегося у противника боевого средства противника, а во-вторых, для создания собственного варианта этого средства. И уже в октябре 1916 г. ставка и военное министерство занялись «танковым вопросом».

В разработке танков германским конструкторам также приходилось все начинать с нуля, если не учитывать ограниченное знакомство с британскими машинами. Правда, уже после появления на поле боя английских танков в печати появился рисунок устрашающей «машины кайзера для прорыва неприятельских рядов»… «Размером с пассажирский вагон», с шипами на броне и 20–25 пушками и пулеметами, но, скорее всего, это была фантазия.

Тем не менее для создания нового оружия Германия располагала соответствующим уровнем технологий, промышленным и конструкторским потенциалом. Кроме высокопоставленного сталелитейного и артиллерийского производства, она располагала отличным собственным двигателе— и автостроением, развитой электротехнической и химической промышленностью и вполне была способна поставить производство танков. Осенью 1916 г. промышленники заверяли кайзера и военное руководство: «Ресурсы, находящиеся в распоряжении немецкой промышленности, таковы, что она способна на протяжении долгих лет снабжать нашу доблестную армию… всем необходимым оружием». Разумеется, авторы таких заявлений пеклись о военных заказах, однако не слишком кривили душой, когда требовали решить лишь «проблему рабочих рук». Несмотря на общее тяжелое положение экономики, военная промышленность, реализовывавшая программу интенсификации («программа Гинденбурга»), была предельно мобилизована и практически полностью обеспечивала потребности армии в вооружении, боеприпасах и технических средствах. Правда, сама «программа Гинденбурга» никаких «танков» не предусматривала, их строительство потребовало бы существенного перераспределения средств и ресурсов, направленных в военную промышленность. Не было недостатка в технических кадрах и в армии — рейхсвер широко пользовался автотранспортом для подвоза грузов, тактической переброски подразделений вдоль фронта, а на румынском фронте для оперативной переброски войск было использовано 20 000 автомобилей. То есть можно было рассчитывать на технически грамотный и обученный персонал водителей и механиков для обслуживания перспективных боевых машин.

Четырехгусеничный «Мариен-Ваген I» системы Бремера с опытным коробчатым бронекорпусом.

К середине войны германские конструкторы уже накопили опыт в создании колесных бронемашин. Хотя по опыту маневров 1909 г. германское командование сделало вывод о малой ценности бронеавтомобилей, на предвоенных маневрах продолжали испытывать вооруженные автомобили. В начале войны германские разведывательные отряды снабжались так называемыми моторными орудиями — автомобилями с пушечным вооружением (впоследствии использовались в системе ПВО и ПТО) и минимальной бронезащитой. Наконец, в октябре 1914 г. военное министерство выдало заказ на полностью бронированные полноприводные колесные машины, и в июле 1915 г. «Даймлер», «Бюссинг» и «Эрхард» представили тяжелые бронеавтомобили с пулеметным вооружением и дополнительным задним постом управления; они несли по три 7,92-мм пулемета в башне и корпусе. Хотя эти опытные машины неплохо показали себя на фронте — летом 1915 г. отряд бронеавтомобилей действовал на русском фронте, «Бюссинги» A5P с 1916 г. действовали в Румынии, — количество их оказалось невелико. Самой «большой» серией выпустили бронеавтомобили «Эрхард» — 33 машины.

К осени 1916 г. был накоплен опыт и в разработке вездеходных шасси. Еще в середине 1915 г. военное министерство выдало требования на разработку грузовой машины для движения вне дорог. В июле 1915 г. заказ на такую машину получил Х.Г. Бремер, и в октябре 1916-го был представлен опытный четырехгусеничный образец По устройству он напоминал обычный грузовой автомобиль с передним расположением двигателя и задней приводной осью, но с заменой всех колес гусеничными ходами, при этом приводной оказывалась только задняя пара гусениц. Заказ на 50 таких шасси начал выполнять завод в Мариенфельде на окраине Берлина, благодаря чему машина известна под названиями «Бремер-Ваген» и «Мариен-Ваген I». Плохая управляемость ходовой части заставила вскоре перейти к полугусеничный модели «Мариен-Ваген II» — с передней управляемой колесной парой. Несколько раньше, в середине 1916 года, гусеничное самоходное шасси, разработанное по заказу военного министерства, представила фирма «Дюркопп». В задней части «Дюр-Ваген» помещались два 80-сильных двигателя, перед ними — сиденье водителя. Ходовая часть была разработана по типу американского трактора «Холт», но с рядом отличий — опорные катки блокировались в две тележки, а направляющие и ведущие колеса подняты над грунтом.

Вскоре после появления первых британских танков на поле боя, в октябре 1916 г. в военном министерстве в Берлине состоялось первое совещание по «танковому» вопросу. Понятно участие в совещании конструкторов «Бремер-Ваген» и «Дюр-Ваген». Однако попытка снабдить шасси «Мариен-Ваген I» коробчатым бронекорпусом из вертикально поставленных 9-мм стальных листов оказалась неудачной, как и все опыты с четырехтусеничными машинами Бремера. Шасси «Дюркопп» оказалось слишком слабым для установки бронекорпуса, и два построенных экземпляра этой машины использовались в качестве обычных транспортеров с возвышающейся рубкой управления и бортовой грузовой платформой в передней и задней частях.

Опытная высококолесная бронемашина «Треффас-Ваген» компании «Ганза-лойд».

Был также разработан проект «Орион-Ваген» полугусеничный схемы с управляемыми колесами и приземистым обтекаемым корпусом, частично прикрывавшим ходовую часть. Проект двухгусеничной бронемашины (т. е. «танка») «Бремер-Ваген III» так и не был осуществлен. В 1916 г. был приглашен в Германию и австриец Штайнер со своим проектом боевого применения гусеничного трактора.

Уже 1 февраля 1917 г. «Ганза-Лойд» в Берлине продемонстрировала трехколесную бронемашину «Треффас-Ваген», высокую проходимость которой обеспечивали два приводных колеса диаметром 3 м с широким стальным ободом. Между колесами помещалась бронерубка, а для управления служил вынесенный вперед на коробчатой балке строенный поворотный каток малого диаметра. Как и все попытки создания «высококолесного танка» (о чем еще будет сказано ниже), «Треффас-Ваген» оказался неудачным. Он испытывался до октября 1917 г., предлагался в качестве тяжелого бронетягача, но еще до окончания войны был разобран на лом.

Тяжелый танк A7V

Для организации и объединения работ по созданию германского танка 13 ноября 1916 г. была создана техническая комиссия под руководством генерала Фридрихса — руководителя 7-го (транспортного) отделения Главного управления военного министерства (или «Общего» управления, Allgemeine Kriegsdepartement 7 Abteilung Verkehrswessen). Это управление, образованное в октябре 1915 г. и именуемое сокращенно A7V (или A.7.V.), выступало в роли заказчика боевых машин. В комиссию вошли также представители известных фирм: Г. Вильгельм — от «Опель», К. Шипперт — от «Даймлер», директор NAG/AEG Юнг, известный автоконструктор А. Хорьх, профессор Хоффманн. Руководителем конструкторских работ по решению комиссии был назначен главный инженер Опытного отделения Инспекции автомобильных войск капитан Йозеф Фольмер (Joseph Vollmer, 1871–1955). Инженер Й. Фольмер имел большой опыт разработки автомобилей различных типов, в военном ведомстве зарекомендовал себя работами по повышению проходимости грузовиков. Иногда в литературе даже буква «V» в аббревиатуре A7V ошибочно расшифровывалась как «конструкция Фольмера» («bauart Vollmer»). В группу Фольмера вошло около 40 конструкторов от различных фирм.

Взгляды военного министерства и высшего командования на назначение разрабатываемой машины значительно расходились. Скептицизм командования в отношении танков и нежелание тратить и без того дефицитные средства попусту породили решение о разработке универсального шасси. 15 ноября были сформулированы требования к гусеничному самоходному шасси, которое можно было бы использовать для танка и для трактора или грузовика — последнее назначение «механических транспортных средств» военному руководству казалось куда важнее. При этом машина должна была развивать скорость до 12 км/ч, преодолевать рвы шириной 1,5 м и подъемы крутизной 30°. Только к концу 1920-х годов окончательно стала ясна невозможность создать полноценный танк на шасси трактора или эффективно использовать танк как трактор (вынужденно строившиеся в разных странах и в разное время «бронетрактора» — уже другая тема).

Испытание A7V в варианте «грузовой машины» или трактора.

К участию в разработке были привлечены фирмы «Даймлер», «Бюссинг», NAG, «Бенц», «Опель». К разработке ходовой части привлекли представителя зарубежного отделения «Холт» Х. Стайнера и берлинскую фирму «Брасс унд Херштетт». Несмотря на скептицизм ставки. поддержка военного министерства обеспечила средства для проведения работ. Разработка проекта велась спешно и была завершена уже к 22 декабря. В основу компоновочной схемы машины была положена симметрия в продольной и поперечной плоскостях. Эта симметрия сказывалась даже на расположении дверей корпуса.

Учитывая «универсальный» характер разрабатывавшегося шасси, описание машины начнем именно с него.

Конструкция собиралась на массивной прямоугольной коробчатой раме. В геометрическом центре машины располагался двигательный отсек, закрытый капотом. Над ним помещалась площадка с местами водителя и командира. Заметим, что на первом варианте шасси было установлено два места водителя, повернутые в противоположные стороны, для переднего и заднего хода — та же идея «челнока». Для увеличения полезного объема корпуса гусеницы были помещены практически под днищем корпуса. Таким образом, компоновка машины была как бы трехэтажной — ходовая часть, платформа с силовой установкой посередине и площадка управления.

Требования к танку предполагали скорость движения 10 км/ч. При планировавшейся массе 25–30 т и предполагаемом сопротивлении движению для этого требовался двигатель мощностью около 200 л.с. Такие двигатели имелись в Германии (например, для «цеппелинов»), но получить их было затруднительно. Фирма «Даймлер» могла поставить двигатели мощностью 100 л.с. и снабжать ими строящиеся танки. Поэтому решено было применить двухдвигательную установку с работой каждого двигателя на гусеницу одного борта. Двигатели были карбюраторные, 4-цилиндровые рядные, жидкостного охлаждения, с рабочим объемом 17 л, диаметром цилиндров 165 мм и рабочим ходом поршня 200 мм. Расход бензина двигателем на 1 км пути составлял 4–7 л. Двигатели были установлены параллельно, носками коленчатых валов к корме. Каждый двигатель крепился к раме отдельно в трех точках. Трубопроводы двигателей были устроены так, чтобы карбюраторы и питающие патрубки находились по внешним сторонам и не нагревались от соседнего двигателя. Выхлопные трубы выводились на внутреннюю сторону и по днищу корпуса выводились через глушители наружу с обоих бортов машины. Глушитель крепился на раме снаружи под верхней ветвью гусеницы. Система питания двигателей рассчитывалась таким образом, чтобы ее работа не зависела от наклона машины. Два бака емкостью 250 л каждый помещались в передней части корпуса под днищем, дно их прикрывалось 10-мм бронелистами. Для большей пожарной безопасности они были перекрыты железными листами и изолированы от боевого отделения. Подача бензина производилась давлением отработанных газов, причем каждый бак мог питать оба двигателя. Для пуска двигателей и в качестве страховочного запаса служили два вспомогательных бака возле места механика-водителя с бензином лучшей очистки и качества. Зажигание смеси осуществлялось от магнето с пусковым магнитом. Число оборотов двигателя регулировалось предохранительным механизмом, ограничивавшим его максимальное значение, и дроссельным клапаном со специальным ручным рычагом. Пуск двигателей мог производиться несколькими способами: электростартером, П-образной стартерной рукояткой на три человека, распылителем «Бош», накачиванием смеси насосом. Для подогрева служила ацетиленовая горелка. Запустив один из двигателей и придав танку первоначальное движение, можно было запустить второй через сцепление. Каждый двигатель снабжался счетчиком оборотов. Тщательно была разработана система смазки. Стекающее в картер двигателя масло откачивалось насосом в отдельный бак, откуда оно другим насосом вновь подавалось через фильтры к местам трения. Это предотвращало заливание цилиндров маслом и забрызгивание свечей зажигания даже при продольном наклоне машины в 45°. Для охлаждения двигателей вдоль передней и задней стенок капота вертикально устанавливались два трубчатых радиатора. Они крепились эластичными хомутами и располагались в особых карманах на войлочной прокладке, снижавшей действие вибрации. Радиаторы обдувались четырьмя вентиляторами — каждая пара вентиляторов приводилась во вращение от вала двигателя ременной передачей (со стороны маховика) с регулируемым натяжением. Воздух забирался изнутри корпуса и выбрасывался наружу через решетки ниже двигателей.

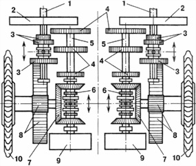
Схема трансмиссии танка A7V:

1 — носок коленчатого вала, 2 — главный фрикцион, 3 — скользящие шестерни ведущего вала, 4 — шестерни передаточного вола, 5 — ведущий вал, 6 — подвижная втулка конической передачи, 7 — коническая шестерня бортового вала, 8 — бортовой редуктор, 9 — тормоз, 10 — ведущее колесо.

Привод и управление гусеницы каждого борта составляли законченный агрегат, помещенный в едином картере. Он включал сцепление, трехскоростную коробку передач, конические передачи переднего и заднего хода, однорядный бортовой редуктор. Сцепление (главный фрикцион) помещалось на конце удлиненного носка коленчатого вала двигателя. Коробка передач — тракторного типа, с ведущим и передаточным валом и скользящими шестернями. Значения скорости — 3, 6 и 12 км/ч. Переключение скоростей производилось соответствующим рычагом перемещением скользящих шестерен на ведущем валу, включение переднего или заднего хода — перемещением втулки конической передачи, торможение гусеницы — колодочным тормозом на конце передаточного вала. Доводку трансмиссии осуществила фирма «Адлер».

Поворот машины производился выключением и торможением одной гусеницы. Минимальный радиус поворота составлял при этом 2,2 м и был примерно равен ширине колеи машины. Включив задний ход одной из гусениц, можно было развернуть машину на месте. При повороте с большим радиусом механик-водитель поворотом вправо или влево рулевого колеса («волана») изменял соотношение числа оборотов двигателей. Таким образом, механик-водитель управлял машиной в одиночку и мог в широких пределах варьировать повороты и движение машины. Органами управления ему служили рулевое колесо, две педали сцепления, рычаг переключения передач, два рычага тормозов, два рычага заднего хода, рычаг насоса. С соответствующими механизмами органы управления были связаны через гибкие тросы.

Ходовая часть была выполнена по типу трактора «Холт» — гусеницы и другие узлы ходовой части поставляло австро-венгерское отделение «Холт» в Будапеште. «Ходовые тележки» подвешивались к поперечным коробчатым балкам, приклепанным снизу рамы, на вертикальных винтовых цилиндрических пружинах. Поначалу каждая тележка имела две пружины, затем их количество довели до четырех (в два ряда). Одна тележка несла пять сдвоенных опорных катков с наружными и центральными ребордами — по типу железнодорожных. На борт приходилось по три тележки. Перемещения тележек относительно рамы ограничивались балками Верхняя ветвь гусеницы поддерживалась шестью одинарными роликами. Ролики крепились попарно на особых брусках, уложенных по бокам рамы на выступы поперечных балок. Таким образом, оси поддерживающих роликов и ведущего колеса были жестко связаны с рамой. Ось направляющего колеса снабжалась винтовым механизмом регулировки натяжения гусеницы. Направляющее и ведущее колеса были спицованными, позже устанавливались и сплошные ведущие колеса. Ось направляющего колеса снабжалась винтовым механизмом регулировки натяжения гусеницы. Расположенное сзади ведущее колесо имело зубчатый венец, зацеплявший шарниры гусеничной цепи.

Проект танка A7V с «длинным» бронекорпусом, двумя симметрично установленными местами водителей и установками для 77 мм «штурмовой» и 20-мм пушек.

Траки гусениц были сборными. Каждый трак состоял из башмака, снабженного невысокими поперечными грунтозацепами, и рельсов. Проушины на концах внутреннего рельса служили для соединения траков цилиндрическими пальцами болтами) с надетыми на них втулками — буксами. С одного края башмак имел изогнутый отросток, прикрывавший шарнир от попадания грязи и камней при изгибе. Ширина башмака составляла 500 мм, рельса — 65 мм, расстояние между рельсами — 180 мм, толщина башмака — 8 мм, высота рельса — 115 мм. «Рельсы» выполнялись из прессованной стали, пальцы и втулки — из стали «хронос», башмак штамповался из сименс-мартеновской стали.

Расположенные под балками рамы крепления подвески и узлы трансмиссии снизу оставались открытыми.

16 января 1917 г. в Берлин-Мариенфельде был продемонстрирован макет шасси и деревянный макет бронекорпуса. 20 января военное министерство подготовило заказ на постройку 100 шасси. При этом предполагалось, что забронировано будет только 10 из них. Машина получила обозначение A7V — по аббревиатуре заказчика Шасси получали номера от 500 и далее, под которыми и числились впоследствии машины.

Первый прототип танка — рабочее шасси с макетом бронекорпуса — был готов 5 апреля, а 30 апреля 1917 г. продемонстрирован в Берлин-Мариенфелззде. 14 мая он был показан на ходу в ставке Главного командования в Майнце, при этом для большего правдоподобия машину загрузили балластом массой 10 тонн. Прототип А7У испытывался параллельно с полугусеничным «Мариен-Ваген II». Свое предложение «боевой артиллерийской машины» K.D.1 представила и фирма «Крупп». Главное командование по результатам испытаний выбрало A7V. Впрочем, шасси «Мариен-Ваген II» тоже не осталось без дела — на нем позже изготавливались самоходные зенитные и противотанковые (!) орудия. В 1917 г. началось серийное производство и колесных бронеавтомобилей «Эрхард» E-V/4.

Испытание шасси A7V с макетом бронекорпуса 1б января 1917 г. Обратим внимание на стальную раму — «нос» для прорыва проволочных заграждении.

Предсерийный тяжелый танк A7V с бронированием ходовой части.

Первые пять готовых танков A7V ожидалось получить к 15 июля 1917 г., следующие пять танков и 40 небронированных шасси — к 1 августа, наконец, последние 49 шасси — к 1 сентября 1917 г. К концу лета ожидалось получить также 50 шасси «Орион-Ваген», однако их проходимость и способность преодолевать проволочные препятствия вызывали сомнения, и этот проект не получил дальнейшего развития. A7V оказался в конце концов единственным. Ускорению работ по A7V способствовал выход в бой на р. Эн у Шмен-де-Дам 16 апреля 1917 г. первых французских танков.

Испытания, проводившиеся весной и летом 1917 г., выявили ряд технических недоработок в системе охлаждения двигателей, трансмиссии, в направляющих гусеничного хода. Их исправление заметно затянуло работы — результат первоначальной спешки. К тому же сказывался растущий дефицит материалов. Постройка первого серийного А7У была завершена к концу октября 1917 г., т. е. за месяц до массированной британской танковой атаки под Камбрэ. Еще до окончания постройки, 19 июня, танк был продемонстрирован в Мариенфельде кайзеру Вильгельму II.

Генеральный штаб не стал дожидаться результатов доработки и 1 декабря 1917 г. утвердил заказ на постройку 100 шасси. Заказ получил категорию срочности 1А — танки спешно готовили к большому весеннему наступлению на Западном фронте.

Заказ на изготовление танков был доведен с 10 до 38, но вскоре его сократили до 20 в ожидании результатов боевого применения. Хотя при столь малом количестве ожидать положительных результатов было трудно, уже можно было сопоставить результаты первого танкового боя на Сомме и танкового прорыва у Камбрэ.

Тем не менее машина наконец получила бронирование и вооружение. Броневой корпус танка устанавливался на раме сверху и собирался клепкой на стальном каркасе из прямых листов броневой стали. Существовало два типа корпуса — производства «Крупп» и «Рёхлинг». Каждый борт «крупповского» корпуса собирался из пяти вертикальных листов, крыша — из четырех продольных и одного поперечного листа, лобовая и кормовая части — из трех листов каждая. Эти корпуса получили танки №№ 540, 541, 542, 543 и 544. Корпуса фирмы «Рёхлинг» отличали цельные, из единого катаного листа борта. Их имели танки №№ 502, 505, 506, 507. Толщина и качество брони позволяли противостоять бронебойным винтовочным пулям (типа французской APX) на дальностях от 5 м и далее, а также осколочно-фугасным снарядам легкой артиллерии. Бронестойкость корпуса несколько повышалась наклонной установкой бронелистов и «корабельной» формой лобовой и кормовой части. Однако уязвимыми местами были стыки бронелистов из-за их плохой пригонки — прежде всего на углах. По утверждениям союзников, осматривавших захваченные германские танки, сквозь стыки проникали осколки пуль и свинцовые брызги. В крыше корпуса спереди и сзади были выполнены большие вентиляционные решетки, служившие частично и для освещения боевого отделения танка Верхняя рубка собиралась из пяти съемных листов и складывалась при перевозке и на марше. Планы установки на танк вращающейся башенки, как и планы увеличения бронестойкости за счет большего угла наклона бронелистов, остались на бумаге.

Танк A7V № 503 3-го штурмового отделения. Октябрь 1918 г.

При сложенной верхней рубке танк мог перевозиться на стандартной платформе по германским, французским и бельгийским железным дорогам без помех со стороны железнодорожных сооружений (для погрузки танка на железнодорожную платформу экипажу обычно приходилось строить специальную рампу).

Смотровые лючки по периметру рубки прикрывались складывающимися вверх крышками, позволявшими регулировать высоту открытой «щели». В крыше рубки имелся лючок с откидной решетчатой крышкой. В первоначальном проекте предусматривался специальный к нос» в виде двух треугольных рам из балок таврового сечения Рамы крепились в передней части и служили для облегчения преодоления препятствий и проделывания проходов в заграждениях. «Нос» даже был выполнен на деревянном макете, но уже в первом демонстрационном образце от него отказались

Командир машины размещался на верхней площадке слева, справа и чуть позади него сидел водитель. Верхняя площадка находилась на высоте 1,6 м над полом. Артиллеристы и пулеметчики размещались по периметру корпуса. Входившие в состав экипажа два механика располагались на сиденьях спереди и сзади от двигателей и должны были следить за их работой. Для посадки и высадки экипажа служили откидные на петлях двери в правом борту впереди и в левом сзади. Под дверью снаружи приклепывались две узкие ступеньки. Внутри корпуса на верхнюю площадку вели две лестницы — спереди и сзади.

Проекции танка A7V корпусом «Крупп».

Продольные разрезы (в вертикальной и горизонтальной плоскостях) тяжелого танка A7V. Танкисты изображены в комбинезонах и защитных шлемах.

Не сразу было выбрано вооружение танка. Планировалось, например, вооружать пушкой только каждый пятый танк, остальные — пулеметами и малокалиберными автоматическими пушками. Соответственно, рассматривался вариант укороченного корпуса с восемью амбразурами: в амбразурах, в зависимости от обстановки, можно было установить нужным образом (для стрельбы вперед, назад и в стороны бортов) две 20-мм пушки и два пулемета или четыре 7,92-мм пулемета MG.08 и два огнемета. Для укороченного корпуса предлагался также вариант вооружения из двух 13,3-мм пулеметов TuF (Tank und Flugzeug, «противотанковый и зенитный», хотя этот пулемет еще только разрабатывался) и двух 7,92-мм пулеметов MG.08 — под это вооружение в корпусе предусматривалось восемь мест установки. При этом корпус по бортам имел высокие скобы для отклонения при движении по дорогам провисающих или оборванных электропроводов (такими приспособлениями к тому времени снабжали автомобили).

Танк с «полноразмерным» корпусом предполагалось вооружить 77-мм полевой пушкой модели 1896 г. (FK 96 n/A), но тогда носовая часть машины оказывалась слишком перетяжеленной. Больше шансов давала 77-мм «штурмовая» пехотная пушка Круппа модели 1916 г., дополнявшаяся двумя 20-мм автоматическими пушками Беккера и четырьмя пулеметами MG.08 на вертлюжных установках. Была спроектирована тумбовая установка для установки в танке 77-мм штурмовой пушки с длиной ствола 20 калибров. Однако это вызвало ряд проблем — только длина отката у 77-мм пушки составляла 750 мм. Кроме того, заказы на пушки были полностью расписаны, и получение их также было затруднительным. В другом варианте предполагалось вооружить танк с «полноразмерным» корпусом четырьмя 20-мм пушками и четырьмя 7,92-мм пулеметами, хотя OHL настаивала на «пушечном» варианте. В конце концов, в ноябре 1917 г. решено было ограничиться, по примеру британцев, 57-мм орудием. Для этого выбрали 57-мм капонирные пушки «Максим-Норденфельд», захваченные в октябре 1914 г. в крепости Антверпен. Установка орудия была, соответственно, перепроектирована

57-мм пушка крепилась в передней части корпуса. Пушка имела длину ствола 26 калибров, наибольшую дальность стрельбы 6400 м, длину отката 150 мм. Два цилиндра противооткатных устройств монтировались над стволом. В боекомплект кроме 100 унитарных выстрелов с осколочно-фугасными снарядами входили 40 бронебойных и 40 картечных выстрелов. Осколочно-фугасные снаряды имели взрыватель с замедлителем и могли использоваться против полевых укреплений. Начальная скорость бронебойного снаряда составляла 487 м/с, бронепробиваемость — 20 мм на дальности 1000 м. Боекомплект орудия помещался в металлическом ящике позади мест артиллеристов. Танки первой постройки кроме корпусов отличались и типом установки орудия.

Собранные первыми танки с номерами шасси 502, 505, 506, 507 с корпусами «Рёхлинг» в носовой части несли стойку («козлы»), на которой крепилась поворотная артиллерийская установка системы Артиллерийской испытательной комиссии. Широкая маска (щит) пушки качалась в вертикальной плоскости, а небольшой внутренний щиток — в горизонтальной. Установка снабжалась противовесом и двумя маховиками наведения. Танки №№ 540–544 с корпусами «Крупп» получили тумбовые установки Тумбовая установка разрабатывалась изначально для танка A7VU (см. далее), но устанавливалась на A7V. Угол наведения орудия в горизонтальной плоскости — 45° в обе стороны, в вертикальной ±20°. Наводчик располагался на кожаном сиденье, укрепленном на кронштейне тумбы и поворачивавшемся вместе с пушкой; для удобства его посадки на том же кронштейне крепились упоры для коленей с кожаными подушками. Сиденье опиралось на ролик, катавшийся по полу корпуса. Для наводки орудия служил телескопический прицел. Маска артиллерийской установки состояла из двух частей. Большой щит полуцилиндрической формы соединялся с тумбой и вместе с ней вращался в горизонтальной плоскости, в левой части он имел вертикальную прорезь для прицеливания. В вертикальном вырезе посредине щита располагался щиток, связанный со стволом пушки и перемещавшийся в вертикальной плоскости. Таким образом, наводчик сидел как бы внутри полубашни, которую вращал, упираясь ногами в пол. Заряжающий располагался справа от него на неподвижном сиденье. Узкое поле зрения прицела и расположение пушки в передней точке приводили к тому, что наводчик легко терял цель из виду при любом движении танка. Поэтому по обеим сторонам от орудийной амбразуры выполнили смотровые лючки с двустворчатыми крышками. Работа наводчика в A7V была удобнее, чем в британских тяжелых танках. И все же вести более-менее прицельный огонь танк мог только с места. Впоследствии на танках первой сборки №№ 501, 502, 505, 507 смонтировали тумбовые установки 57-мм пушки. Танк № 506 к началу этой замены уже был потерян в бою, а танк № 502 после переделки получил новый номер шасси — 503.

Сектора обстрела вооружения танка A7V.

Стандартные 7,92-мм пулеметы MG.08 (системы Максима) крепились на вертлюжных установках с полуцилиндрическими масками и винтовыми механизмами вертикального наведения. Угол горизонтального наведения пулемета составлял ±45°.

Расчет каждого пулемета составлял два человека — ошибка, которой в тот же год едва избежали французы при разработке танка «Рено» и происходившая, видимо, из стремления обеспечить пулеметам наибольшую боевую скорострельность с быстрой заменой ленты Пулеметчики помещались на сиденьях с низкой спинкой, укрепленных на полу на тех же стойках, что и пулеметы. Коробка с лентой на 250 патронов крепилась на сиденье стрелка, запасные коробки укладывались под сиденьем. Танк мог возить с собой 40–60 лент, т. е. 10–15 тысяч патронов. В бортах корпуса и дверях имелись лючки с бронезаслонками для стрельбы из оружия экипажа. Вооружение экипажа должно было включать ручной пулемет, карабины, пистолеты, ручные гранаты и даже один огнемет. То есть экипаж танка набирался и вооружался подобно гарнизону форта. На практике это не соблюдалось (по крайней мере, огнемета не получил ни один танк), и экипаж имел с собой личное оружие и гранаты. Для укладки карабинов служили скобы внутренних лестниц.

Танк № 501 оказался полностью «симметричным» — вместо артиллерийской установки в его передней части, так же как и в кормовой, устанавливались два пулемета. Таким образом обеспечивался действительно круговой обстрел. Позже танк № 501 был перевооружен 57-мм пушкой на тумбовой установке.

57-мм пушки «Максим-Норденфельд» на тумбовых установках пригодились не только для танков — 150 таких установок было смонтировано на грузовиках в качестве самоходных орудий ПТО.

Спереди и сзади к раме машины крепились буксирные крюки. В боевой обстановке вырезы корпуса для буксирных крюков прикрывались шарнирно укрепленными треугольными крышками. На минимальной скорости тяговое усилие достигало 15 т. Танк нес с собой ЗИП и шанцевый инструмент. ЗИП помещался в коробке под полом в передней части корпуса — перед бензобаками, шанцевый инструмент крепился на бортах снаружи.

Для питания электрооборудования внутреннее и внешнее освещение) служил электрогенератор с приводом от двигателя. Из средств внутренней связи следует упомянуть указатель на цель. Он крепился на крыше корпуса над артиллерийской установкой и поворачивался командиром танка с помощью троса. Перед расчетом орудия над правым смотровым лючком располагалась панель с белой и красной лампочками: их сочетания означали команды «заряжай», «внимание» и «огонь». Остальному экипажу, как и во всех танках того времени, командиру приходилось подавать команды криком, перекрывая шум двигателей и трансмиссии. Средств внешней связи не предусматривалось Надежность работы имевшихся радиостанций внутри трясущегося корпуса танка вызывала большие сомнения, не было уверенности и в эффективности световой сигнализации. Семафоры быстро сбивались бы пулями, осколками или взрывной волной. Предусмотрели лючок для сигнализации флажками. Однако на практике управление свели к принципу «Делай, как я», а при необходимости — посыльными. Был, правда, разработан вариант «связного танка», оснащенного радиостанцией с поручневой антенной на крыше корпуса, вооруженного только двумя пулеметами, с экипажем 11–13 человек, включая радистов и наблюдателей. Но, в отличие от британских и французских «радиотанков», этот проект остался на бумаге.

В целом конструкция танка воплощала в себе идею «подвижного форта», приспособленного более для круговой обороны и поддержки действий пехоты, нежели для прорыва обороны противника и поддержки пехоты. Несмотря на обильное вооружение, кругового обстрела в прямом смысле слова не получилось; из-за ограниченных углов наведения орудия два сектора в переднем направлении представляли собой мертвое пространство. Если проводить аналогии со штурмовыми машинами древности, можно условно считать, что первые британские тяжелые танки создавались как «таран», французские средние — как «черепахи» с катапультами, а тяжелые германские — как обильно вооруженные «штурмовые башни».

Основным производителем A7V был завод фирмы «Даймлер» в Мариенфельде. На этом же заводе, кстати, собирались и машины «Мариен-Ваген». Ручная сборка и доводки деталей по месту сказались на внешнем виде танков. Стоимость постройки одного танка A7V в ценах 1917–1918 гг. составляла 250 000 германских рейхсмарок, из них 100 000 марок приходилось на бронирование. До сентября 1918 г. было собрано всего 20 A7V. Первую серию составили танки на шасси №№ 501, 502, 505–507 и 540–544. Танки второй серии имели номера 525, 526, 527, 528, 529 (корпуса «Крупп»), 560, 561, 562, 563 и 564 (корпуса «Рёхлинг»).

Бронирование ходовой части, выступающие под рамой машины картеры бортовых передач и подвешенные под днищем спереди и сзади наклонные бронелисты вместе с высоким расположение центра тяжести снижали проходимость машины. Танк мог уверенно двигаться по рыхлому грунту, но только по открытой местности без бугров, глубоких рытвин и воронок, легко опрокидывался при боковом крене. При переходе через проволочные заграждения колючая проволока просто затягивалась к гусеницам и запутывалась в них, что иногда приводило к перегрузке и выходу из строя сцеплений. Бронирование ходовой части было применено по опыту собственной германской противотанковой обороны, часто «разбивавшей» открытые гусеницы британских танков. На первом демонстрационном образце танка бронирование доходило до осей опорных катков. Экраны, закрывавшие ходовую часть, были и на серийных танках, однако экипажи снимали их, открывая ходовые тележки, дабы грязь с верхних ветвей гусениц не забивалась в ходовую часть. Бронелисты, прикрывавшие направляющие и ведущие колеса, могли откидываться на петлях вверх. Для обслуживания ходовой части с каждого борта имелись также два небольших лючка, крышка переднего имела вырез для вывода выхлопной трубы. Лючок имелся также в нижнем кормовом листе.

Расположение командира и водителя в поднятой рубке обеспечивало им неплохой обзор местности, однако длинный высокий корпус сильно затруднял ему наблюдение за дорогой непосредственно перед танком. Водитель видел местность только в 9 м впереди машины. Поэтому в управлении ему помогали механики, наблюдавшие за местностью через лючки в бортах — под рубкой. В отличие от британских тяжелых танков (до появления Mk V) всю физическую работу по управлению танком механик-водитель выполнял один, причем она была легче и проще, чем у британских коллег. Два механика участвовали в управлении только «глазами и голосом».

Большие размеры и особенно высота танка делали его хорошо видимой мишенью для артиллерии. За громоздкий неуклюжий корпус, за экипаж, соответствующий по численности полувзводу, и за две дымящие выхлопные трубы A7V прозвали в войсках «тяжелой полевой кухней». Вентиляция танка, как и на первых английских и французских машинах, оказалась неудовлетворительной. По рассказу одного механика-водителя A7V, температура внутри танка во время боя достигала 86 °C — пожалуй, небольшое преувеличение. На марше экипажи предпочитали размещаться на крыше танка. Тряска и теснота затрудняло передвижения внутри танка, и экипажи прибегали к импровизированным приспособлениям — к решеткам крыши привязывали веревки с узлами и петлями вроде петель в трамвае. На крыше машины перевозилась маскировочная сеть, без которой укрытие такой махины на стоянке было бы невозможным даже в лесу.

Как показал боевой опыт, обилие вооружения и недостаточное время тренировки экипажей приводили к тому, что пулеметчики мешали артиллеристам и наоборот. Вообще же неудачи, которые постигли немецкие танки впоследствии, следует отнести не только на счет недостатков конструкции, но и на счет малочисленности машин и степени обученности их экипажей — у немцев просто не было времени и возможности провести должное обучение. Даже если они добивались местных успехов, это никак не влияло на ход операций. Столь разительное несоответствие целей и средств растревожило «общественное мнение».

2 октября 1918 г. на заседании лидеров партий в рейхстаге представитель ставки Главного командования заявил: «Надежда побороть противника исчезла. Первым фактором, решительно повлиявшим на такой исход, являются танки. Противник применил их в громадных, нами не предвиденных массах. Мы не были в состоянии противопоставить противнику такое же количество германских танков. Наша промышленность не могла производить их в достаточном числе без серьезного ущерба для других важных заданий: она и так была напряжена до крайности». Депутаты, как и положено, резко упрекали военное министерство и Главное командование в пренебрежении таким боевым средством. 23 октября было распространено заявление военного министра генерала Шейха: «…Мы уже давно энергично занимались постройкой этого оружия (которое признано важным)… Мы скоро будем иметь дополнительное средство для успешного продолжения войны, если нас к этому вынудят». Полезность «этого оружия» теперь не вызвала сомнений. Но было уже слишком поздно. Генерал Г. фон Кюль говорил перед комиссией рейхстага уже после войны: «Нет сомнения, что германская промышленность справилась бы с производством танков, если бы мы поставили перед ней эту задачу заблаговременно, достаточно определенно и настойчиво».

Тактико-технические характеристики A7V

Боевая масса, т 30,48 Экипаж, человек 18 Высота, м 3,3 Длина, м 7,35 Ширина, м 3,06 Клиренс, м 0,2 Толщина брони, мм: лоб 30 борт 20 корма 20 крыша 15 Вооружение: орудие 57-мм пушка «Максим-Норденфельд» пулеметы 5×7,92-мм MG.08 Боекомплект: выстрелов 180 патронов 10 000-15 000 Двигатель: марка 2׫Даймлер» (165204) тип карбюраторный число цилиндров 4 охлаждение жидкостное мощность, л.с. 2×100 (при 800–900 об/мин) Запас топлива, л 500 (2 бака по 250) Трансмиссия механическая, с 3-скоростной коробкой передач Механизм поворота выключением или торможением гусеницы Бортовой редуктор однорядный Ходовая часть (на один борт) 15 опорных катков, 6 поддерживающих роликов, заднее расположение ведущего колеса Подвеска блокированная, на винтовых пружинах Тип гусеницы металлическая, крупнозвенчатая Количество траков в цепи 48 Тип зацепления зубовое Ширина трака, мм 500 Шаг трака, мм 254 Максимальная скорость, км/ч 10-12 Скорость хода по местности, км/ч 5-8 Запас хода, км 35 Удельное давление, кг/см² 0,6 Преодолеваемый подъем, град. 18 Ширина преодолеваемого рва, м 2,2 Высота стенки, м 0,455 Глубина брода, м 0,8 Тяговое усилие, кгс 15 000

Участие различных фирм в разработке и производстве A7V

«Крупп», Эссен производство бронеплит «Рехлинг», Диллинген производство бронеплит «Адлер», Франкфурт разработка и производство трансмиссии «Даймлер», Берлин-Мариенфельд разработках производство двигателей, сборка готовых танков «Леб», Шарлоттенбург сборка танков «Бюссинг», Брауншвейг сборка узлов и агрегатов «Ланц» сборка узлов и агрегатов «Стеффенс унд Нолле», Берлин сборка механизмов управления, бронирование Оружейная мастерская в Шпандау вооружение «Нутцфарцейге АГ» (NAG) участие в разработке «Бенц» участие в разработке Отделение «Холт-Каттерпиллер» в Будапеште гусеницы, ведущие колеса «Оберурсел» радиаторы «Бош» карбюратор, электрооборудование

Танк A7V № 542, захваченный британцами 24 апреля 1918 г. у Виллер-Бретонне (см. главу «Боевое применение танков»), нес имя «Эльфриде» (Elfride), из-за чего в литературе A7V долгое время именовались также «танками типа Эльфриде». Танк был внимательно изучен в тылу, испытывался французскими и британскими экипажами. По мнению союзников, «немцы в своей модели повторили большое количество конструктивных ошибок и механических недостатков, позаимствованных ими у первых английских и французских танков». Точнее было бы сказать, что немцы учли многие из недостатков первых танков союзников, но сделали немало собственных ошибок. Британские специалисты отмечали хорошее бронирование A7V спереди, сзади и с бортов при слабой защите крыши (ослабленной вентиляционными решетками). Кроме того, «заслонки отверстий в башне, орудийный щит, пулеметные маски и щели между плитами… были очень уязвимы для осколков ружейных и пулеметных пуль». И, конечно, отмечалась низкая проходимость машины — об этом свидетельствовало уже то, что захваченный танк просто опрокинулся, переходя через воронку.

Из 100 шасси A7V только 22 использовали для постройки серийных танков, причем с двух шасси бронекорпуса и вооружение были вскоре сняты, одно шасси использовано при постройке опытного A7VU. Шасси, не использованные для танков, также нашли применение на фронте. Эти машины, условно называемые berlandwagen (можно перевести как «машина для дальних поездок»), упоминают обычно как «трактора», хотя точнее будет отнести их к разряду гусеничных транспортеров, поскольку большую часть машины занимала огороженная бортами грузовая платформа. Борта могли наращиваться, машина возила с собой брезентовый тент. Грузоподъемность машины составляла 10 т, усилие на буксирном крюке — до 15 т.

Передний и задний края платформы также далеко выдавались за гусеничный обвод, а посередине ее возвышалась крытая рубка с двигательным отсеком и кабиной водителя. Дабы при движении по дорогам машина не обрывала телеграфные и электрические провода, вдоль бортов крепились дугообразные скобы. На машину могли устанавливаться прожекторы — по одному под платформой спереди и сзади и два поворотных под потолком рубки. Трактора-транспортеры использовались вместе с частично бронированными грузовиками для снабжения войск в боевой зоне. По разным данным, от 60 до 80 машин были оснащены землеройным и бульдозерным оборудованием, поставлявшимся «Орренштайн унд Коппель» (Берлин) и «Везерхютте» (Бад-Осенхаузен).

Интересный вариант использования небронированного шасси A7V испытали осенью 1917 г. — на его длинной платформе спереди и сзади смонтировали две зенитные пушки. Само орудие представляло собой трофейную русскую 3-дм (76-мм) полевую пушку образца 1902 г., использовавшуюся в рейхсвере под обозначением 7,62 cm F.K. 02 L/30 — ее качающаяся часть монтировалась на открытой тумбовой установке Sockelflak фирмы «Крупп» с круговым обстрелом. Углы наведения по вертикали допускали ведение огня и по наземным целям, подобно уже использовавшимся рейхсвером «моторным орудиям» на автомобильных шасси. Моторное отделение закрывалось легким бронированием — видимо, для защиты от гильз и пороховых газов. Борта кузова на позиции откидывались, увеличивая размеры площадок для работы расчетов, но оставались ограждения вдоль бортов Возимый боекомплект — от 168 до 200 выстрелов, имелись крепления пушек по-походному (стволами к рубке). Известны фотографии одной такой установки (кстати, на них она покрыта камуфляжной окраской), но встречаются упоминания, что в «двухорудийные» зенитные самоходные установки переделали три шасси A7V, причем на двух ставили трофейные русские 76-мм пушки, а на одно — германские 77-мм (возможно, речь идет только о планах такой переделки).

Испытание опытной установки на A7V двух 76-им пушек на зенитных установках.

Опытный тяжелый танк A7VU

Уже во время сборки первого прототипа A7V в апреле 1917 г. в Германии провели, наконец, детальные испытания трофейных британских танков (Mk IV). В результате ОН1. выдала задание на опытную разработку танка по британскому образцу. Проект получил обозначение A7VU.

Предполагалось создание машины с гусеницами, охватывающими корпус, и той же моторно-трансмиссионной группой, что у A7V. При этом использовались узлы и агрегаты шасси A7V № 524. Главной задачей было достижение высокой проходимости. Переделанное шасси планировалось получить для испытаний к 1 сентября 1917 г.

Компоновку танка существенно изменили. Двигатели и трансмиссия заняли заднюю часть корпуса. Места водителя (с теми же органами управления) и командира были перенесены вперед, к лобовому листу корпуса. Среднюю часть корпуса заняла боевая рубка. По бокам от двигателей располагались симметричные спонсоны. Боевое отделение, таким образом, было разделено на три отсека — два смещенных назад спонсона и боевая рубка. Верхняя бронерубка сохранилась, но служила теперь для лучшего наблюдения экипажа за полем боя — как на британском Mk V — и для установки пулемета. Для наблюдения использовались также смотровые лючки по бортам отделения управления.

Опытный тяжелый танк A7VU.

Корпус A7VU в продольном сечении приобрел форму ромба, более угловатую, нежели у британских прототипов. Бронелисты также крепились клепкой на стальном каркасе. Толщина брони ограничивалась 20 мм. Но, несмотря на это, а также на уменьшение экипажа более чем вдвое, масса танка по сравнению с A7V возросла на 10 т — до 40 т. Защищенность передней проекции увеличивалась за счет наклона верхнего лобового листа корпуса 50° к вертикали. Бензобаки и тяги управления располагались между днищем корпуса и полом отделений управления и боевого. В крыше и задней наклонной стенке корпуса выполнялась вентиляционная решетка с жалюзями. Ниже крепилась бронированная коробка. По бокам ее устанавливались буксирные крюки.

В спонсонах установили две 57-мм пушки «Максим-Норденфельд», а позади них, в бортах, два пулемета MG.08. Тумбовая установка пушки была, собственно, разработана для A7VU, но здесь угол наведения в горизонтальной плоскости достигал 110°. Работа артиллериста в A7VU была удобнее, чем в спонсонах британских танков, но зато и сами спонсоны были крупнее, что грозило значительно ухудшить проходимость танка. Установки пулеметов были аналогичны A7V, углы горизонтального обстрела — 45° в бортовых установках и несколько меньше в кормовых. Еще один-два пулемета могли устанавливаться в бортовых амбразурах впереди спонсонов (под рубкой), в шести амбразурах рубки или в лобовом листе. Кроме того, экипаж мог вести огонь из личного оружия. В задних стенках спонсонов выполнялись двери с наружными петлями и амбразурами для пулеметов.

Выхлопные трубы с глушителями были выведены на крышу корпуса. Гусеничный ход, как и в английских танках, был собран вокруг больших коробчатых конструкций по бортам. Подвеска, в отличие от британских прототипов, была упругой и, в общем, повторяла блокированную подвеску A7V с ходовыми тележками на 4 или 5 сдвоенных опорных катков, подвешенными на цилиндрических винтовых пружинах. Но тут к ходовым тележкам добавились группы катков, жестко закрепленные на стенках гусеничного хода против восходящей и нисходящей ветвей гусеницы для предотвращения их смятия или спадания. Ведущие колеса — заднего расположения, сплошные. Направляющие снабжены винтовыми механизмами регулирования натяжения гусениц.

Проекции тяжелого танка A7VU. Показан сектор обстрела 57-мм пушки, установленной в спонсоне.

Первые ходовые испытания опытного образца прошли 25 июня 1918 г. По сравнению с британскими «ромбовидными» танками A7VU имел ряд преимуществ — лучшую бронезащиту, упругую подвеску, лучший обзор для экипажа. Однако вес его оказался слишком велик, а сопротивление движению на 40 % выше, чем у A7V. Крупные низко посаженные спонсоны не способствовали проходимости. 12 сентября ставка распорядилась прекратить работы по проекту, единственный опытный экземпляр был разобран.

Упоминаются также проекты A7VU-2 с уменьшенными спонсонами и рубкой (в рубке было только 4 амбразуры под пулеметы) и A7VU-3 (без выступающей рубки и с еще более уменьшенными спонсонами с только пулеметным вооружением, — видимо, влияние британских танков-«самок»). Но такие танки «в железе» не строились.

Тактико-технические характеристики A7VU

Боевая масса, т 39-40 Экипаж, человек 7 Высота, м 3,2 Длина, м 8,38 Ширина, м 4,69 Клиренс, м 0,2 Толщина брони, мм: лоб 30 борт 20 корма 20 Вооружение: орудие 2×57-мм «Максим-Норденфельд» пулеметы 3-4×7,92-мм MG.08 Двигатель: марка 2׫Даймлер» тип карбюраторный число цилиндров 4 охлаждение жидкостное мощность, л.с. 2×100 (при 800–900 об/мин) Трансмиссия механическая, с 3-скоростной коробкой передач Механизм поворота выключением или торможением гусеницы Бортовой редуктор однорядный Ходовая часть (на один борт) 24 опорных катка, 7 поддерживающих роликов, заднее расположение ведущего колеса Подвеска упругая Тип гусеницы металлическая, крупнозвенчатая Количество траков в цепи 68 Тип зацепления зубовое Ширина трака, мм 500 Шаг трака, мм 254 Ширина преодолеваемого рва, м 3-4

Опытные легкие танки LK-I и LK-II

Вскоре после демонстрации макета A7V верховное командование предложило разработать более крупные «сверхтанки». Задание на разработку было вскоре выдано Й. Фольмеру. Однако Фольмер считал более правильным создание легких машин, которые могли бы быть выпущены быстрее и в большем количестве с использованием имеющихся агрегатов. Условиями для разработки и быстрой постановки производства было наличие больших запасов автомобильных агрегатов. В автопарках военного ведомства к тому времени скопилось более 1000 автомобилей, признанных негодными для применения в армии — так называемых «пожирателей горючего и шин». Машины были разнотипными, с мощностью двигателей от 40 до 60 л.с. Однако их систематизацией можно было получить группы по 50 и более штук и на этой основе строить партии легких боевых машин с запасом агрегатов и узлов. Предполагалось использовать шасси автомобиля «внутри» гусеничного шасси, устанавливая ведущие колеса гусеничного хода на их приводные оси. Германские специалисты едва ли не первыми уяснили такое преимущество легких танков, как возможность широкого применения автомобильных агрегатов.

Опытный легкий танк LK-I с использованием агрегатов грузового автомобиля «Даймлер», с вращающейся пулеметной башней. Открыты двери рубки, люк башни и люки моторно-трансмиссионного отделения.

Проект был представлен в сентябре 1917 г. Начальник Инспекции автомобильных войск одобрил его и 29 декабря 1917 г. принял решение о постройке легких танков. Уже 17 января 1918 г. ставка Главного командования отклонила это решение, сочтя предполагавшееся бронирование таких танков слишком слабым. Вскоре, однако, выяснилось, что Главное командование само вело переговоры с Круппом о легком танке, разрабатывавшемся его фирмой — еще один пример несогласованности действий Главного командования и военного министерства. Разработка легкого танка началась на фирме Круппа под руководством профессора Раузенбергера (ведущего артиллерийского конструктора фирмы) еще весной 1917 г. В конце концов создание именно легкого танка получило одобрение и перешло в ведение военного министерства. Дали разрешение на постройку двух опытных машин LK-I (Leichte Kampfwagen).

Основные требования к легкому танку предполагали

— экипаж — водитель (механик-водитель) и один-два стрелка;

— вооружение — 57-мм пушка или два пулемета, наличие лючков для стрельбы из личного оружия;

— защита от бронебойных винтовочных пуль на малых дальностях (толщина брони — не менее 14 мм);

— подвеска — упругая,

— скорость движения по ровной местности с грунтом средней твердости — 12–15 км/ч, удельное давление на грунт — около 0,5 кг/см² ширина перекрываемого рва — 2 м, поворотливость на любом грунте, способность брать подъемы крутизной до 45°;

— масса — не более 8 т, возможность перевозки в неразобранном виде на стандартных железнодорожных платформах и готовность к действию сразу же после выгрузки;

— надежный и по возможности малошумный двигатель;

— небольшой силуэт при возможно большом клиренсе;

— время действия без пополнения запаса горючего и боекомплекта до 6 ч.

Для повышения проходимости и возможности проделывать проходы в проволочных заграждениях предлагалось не перекрывать гусеницу бронировкой и увеличить высоту зацепа подъемом гусеничного обвода в передней части. Кроме того, предполагалась способность буксировки легкого орудия или бомбомета на колесном лафете и в то же время возможность отбуксировать сам танк тягачом или другим танком.

Посадка и высадка экипажа должны были быть простыми и быстрыми, объем обитаемого отделения достаточен для боевой работы. Обращалось внимание на пожарную безопасность, устройство смотровых щелей и лючков, защиту экипажа от осколков и свинцовых брызг, возможность герметизации танка на случай применения противником огнеметов (!). Стоит обратить внимание на требование доступности механизмов для обслуживания и ремонта и возможности быстрой замены двигателя, наличие системы очистки гусениц от грязи.

Гусеничное шасси танка LK разработки Фольмера собиралось на особой раме. Ходовая часть каждого борта заключалась между двумя продольными параллельными стенками, связанными поперечными перемычками. Между ними к раме подвешивались на винтовых цилиндрических пружинах ходовые тележки. На борт приходилось пять тележек с четырьмя опорными катками каждая. Еще одна тележка жестко крепилась впереди — ее катки служили упорными для восходящей ветви гусеницы. Жестко закреплена была также ось заднего ведущего колеса. Направляющее колесо было приподнято над опорной поверхностью, а его ось снабжена винтовым механизмом регулировки натяжения гусеницы.

Продольный профиль гусеницы был рассчитан так, чтобы при движении по твердой дороге длина опорной поверхности оставляла 2,8 м, на мягком грунте несколько увеличивалась, а при переходе через окопы достигала 5 м. Приподнятая передняя часть гусеницы выступала впереди корпуса. Таким образом предполагали совместить поворотливость на твердом грунте с высокой проходимостью. Конструкция гусеницы повторяла A7V, но в уменьшенном варианте. Ширина башмака составляла 250 мм, рельса — 80 мм, проем рельса — 27 мм, высота — 115 мм, толщина башмака — 6 мм. Количество траков в цепи возросло до 74. Сопротивление цепи на разрыв — 30 т. Материал звеньев и болтов — тот же, что и на A7V. От поперечного смещения нижнюю ветвь гусеницы удерживали центральные рекорды катков и боковины ходовых тележек, верхнюю — стенки рамы.

Опытный легкий танк LK-I, вид спереди-сбоку. Пулемет в башне не установлен.

Внутри такого готового гусеничного хода крепилась рама автомобиля (например, грузовика «Даймлер») с основными агрегатами, причем не жестко, а на сохранявшихся рессорах автомобиля. Задняя ось автомобиля, использовавшаяся для привода ведущих колес, вставлялась в отверстия боковых рам гусеничного хода. Таким образом, упругая подвеска оказывалась как бы двухступенчатой — винтовые пружины ходовых тележек и полуэллиптические пружины внутренней рамы.

Двигатель и трансмиссия базового автомобиля в целом сохранялись. В целом вся конструкция как бы представляла собой бронеавтомобиль, поставленный» в гусеничный ход. Такая конструкция позволяла получить вполне прочную конструкцию с упругой подвеской и достаточно большим клиренсом.

В результате получился танк с передним расположением двигателя, задним — трансмиссии и боевого отделения. При первом же взгляде бросается в глаза сходство с британским средним Mk A «Уиппет», появившимся на поле боя только в апреле 1918 г. Любопытно и то, что LK-I имел башню кругового вращения, как и «легкий танк преследования» Триттона. Танк Триттона был официально испытан в Англии в марте 1917 г. Возможно, германская разведка и имела некоторые данные об этих испытаниях. Однако сходство схемы компоновки можно объяснить и выбором в качестве базовой автомобильной схемы, пулеметные же башни были хорошо отработаны на бронеавтомобилях всеми воюющими сторонами. Тем более что по своему устройству LK значительно отличаются от «Уиппет»: отделение управления находилось позади двигателя, причем сиденье водителя располагалось по оси машины, а за ним находилось боевое отделение.

Броневой корпус собирался на каркасе из прямых листов катаной брони клепкой. Цилиндрическая клепаная башня имела амбразуру для установки пулемета MG.08, прикрытую с боков двумя наружными щитками подобно башням ряда бронеавтомобилей тех лет. Пулеметная установка имела винтовой подъемный механизм. В крыше башни выполнялся круглый люк с откидной крышкой, в корме — небольшой двустворчатый лючок. Посадка и высадка экипажа осуществлялись через две низкие двери на петлях, расположенные в бортах боевого отделения напротив друг друга. Окно водителя прикрывалось горизонтальной двустворчатой крышкой, в нижней створке были прорезаны пять смотровых щелей. Для обслуживания двигателя предусматривались люки с откидными крышками в бортах и крыше моторного отделения. Вентиляционные решетки снабжались жалюзями.

Ходовые испытания первого опытного LK-I состоялись в марте 1918 г. Хотя прошли они весьма успешно, решено было доработать конструкцию — усилить бронезащиту, улучшить работу ходовой части и приспособить танк для массового производства.

Началась разработка танка LK-II. 13 июня 1918 г. были представлены модели LK-II и легкого танка Круппа. Оба проекта рекомендовали к дальнейшей разработке в пулеметном варианте с башней. Чуть позже добавился и пушечный вариант LK-II.

Опытный легкий танк LK-II с установкой 37-мм пушки в рубке. Танк несет камуфляжную окраску.

После начала Амьенской операции союзников 8 августа — «черного дня германской армии» Круппу был дан срочный заказ на 65 танков, хотя еще не было готово ни одного реального образца. После испытаний 2 октября в Мариенфельде шасси конкурирующих машин заказ фирме «Крупп» был аннулирован. Выбор остановили на LK-II группы Фольмера. Планировалось заказать 580 машин, в декабре 1918 г. начать производство первых 10 LK-II, а с апреля 1919 г. довести их выпуск до 200 машин в месяц. При этом только треть машин должны были быть пулеметными (два 7,92-мм пулемета), а две трети — пушечными (здесь уже можно увидеть аналогию с французским «Рено» FT-17).

Этому предшествовали огневые испытания 57-мм пушки, установленной в корпусе LK-II. Испытания, прошедшие еще 29 августа, выявили слабость орудийной установки и разрушающее действие отдачи на корпус. И 30 сентября ставка решила, что пушечные LK-II будут вооружаться 37-мм пушкой Круппа.

Обводы корпуса танка несколько изменились. Появились наклонные «скулы» между прямыми бортами и крышей. Позади моторного отделения возвышение и «скулы» корпуса образовывали рубку водителя с тремя смотровыми лючками. Передний лючок имел две откидные крышки, боковые — по одной. Неподвижная боевая рубка имела прямые борта и наклонную заднюю стенку. В боевой рубке помещались артиллерист (наводчик) и его помощник, работавшие стоя. Двери рубки располагались так же, как у LK-I, но были увеличены. В крыше рубки имелся люк с откидной крышкой, служивший для обзора и вентиляции. В прямых бортах, лобовом листе и крыше моторного отделения выполнялись жалюзи, на наклонных верхних листах — люки с откидными крышками для обслуживания двигателя Система вентиляции, по мнению разработчиков, должна была обеспечить температуру воздуха внутри танка ненамного выше окружающей атмосферы.

Тумбовая установка 37-мм пушки крепилась на вертикальной опоре. Конструкция щита орудия в целом была аналогична установке 57-мм пушке на A7V с уменьшением размеров. Артиллерийская установка весила 500 кг, снабжалась телескопическим прицелом, маховичком горизонтальной наводки. Угол наведения в горизонтальной плоскости — ±30°. В бортовых дверях предусматривались отверстия для стрельбы из ручного пулемета MG.08/15.

Карбюраторные двигатели отобранных для постройки шасси были двух типов — мощностью 40 и 50 л.с. Пуск двигателя мог производиться рукояткой изнутри или снаружи (крепилась спереди под решеткой радиатора) танка либо электростартером. Два бензобака общей емкостью 170 л располагались по бокам от двигателя между ним и бронелистами бортов, днище баков прикрывалось 8-мм броней. Подача бензина производилась давлением отработанных газов. Для надежного питания двигателя при любых наклонах машины была переделана поплавковая камера. Для предотвращения заливания двигателя маслом была введена замкнутая «циркуляционная» система смазки. Охлаждение радиатора двигателя производилось вентилятором или эжектором. Воздух всасывался из обитаемого отделения, а выбрасывался через отверстия в бортах и крыше моторного отделения. Выхлопная труба выводилась с левого борта, через стенки шасси. Одна занятная деталь — в то время как британцы на своих тяжелых танках использовали один двигатель, а на среднем «Уиппет» два, германские конструкторы снабдили тяжелые танки двумя двигателями, а легкий — одним. Никакой закономерности здесь нет — и тем и другим приходилось использовать имевшиеся в наличии двигатели и как-то выходить из положения.

Трансмиссия LK-II включала: дисковое сцепление (главный фрикцион); 4-скоростную коробку передач автомобильного типа; продольный вал, на котором располагались конические шестерни, кулачковые или дисковые сцепления, колодочные или ленточные тормоза; две приводные поперечные полуоси с коническими шестернями на одном конце и цилиндрическими на другом Конические шестерни полуосей сцеплялись с коническими шестернями вала, образуя простой дифференциал, а цилиндрические вместе с шестернями большего диаметра на осях ведущих колес образовывали однорядные бортовые редукторы. Редукторы помещались в картеры, укрепленные на внутренних стенках гусеничного хода. На тех же стенках в особых втулках крепились на подшипниках приводные полуоси и оси ведущих колес. Для увеличения тяги и возможности брать крутые подъемы в трансмиссию включили промежуточную передачу, понижавшую скорость хода в 2,14—2,16 раза. При выключенной промежуточной передаче скорость хода составляла от 3,5 до 14 км/ч, при включенной — от 1,6 до 6,5 км/ч.

Поворот осуществлялся выключением и подтормаживанием одной из гусениц. Манипуляции с гусеницей одного борта производились одним качающимся рычагом на три положения. В заднем положении рычага включалось сцепление соответствующей гусеницы, в среднем — сцепление выключалось, в переднем — включался тормоз гусеницы. Таким образом, водитель мог регулировать радиус поворота. Минимальный радиус поворота составлял 1,7 м. Приводы управления и элементы трансмиссии находились под полом обитаемого отделения. Компоновка трансмиссии и механизмов поворота вдоль продольного вала хорошо соответствовала общей ужатости боевой машины.

Наружные стенки гусеничного хода получили отогнутые внутрь наклонные секции для сброса грязи с верхней ветви гусеницы — приспособление, заимствованное у Mk A «Уиппет». Несколько изменен по сравнению с LK-I был и массивный буксирный крюк.

Продольный разрез и вид спереди легкого танка LK-II.

Угол подъема на минимальной скорости при включенной понижающей передаче достигал 41°, при выключенной — 17,5°, на максимальной — соответственно 6,5 и 2°.

Разведка союзников, на основании данных перебежчиков, предполагала, что летом 1918 г. в Германии «находилось в постройке» 250 легких танков, но это не соответствовало действительности. К исполнению заказа на легкие танки так и не приступили, хотя из войск в течение 1918 г. поступали требования на более подвижные танки легкого типа. Первый LK-II был построен осенью 1918 г. и сильно припозднился. Только в октябре Фольмер смог представить два легких танка.

Легкие танки с широким применением готовых автомобильных агрегатов были намного перспективнее идеи «сверхтанка» хотя бы потому, что были в 10 раз дешевле. Танки типа LK-II, примененные массово, могли достичь больших успехов, чем тяжелые, будучи более подвижными, смогли бы обеспечить поддержку «штурмовых групп «пехоты в глубине обороны противника. Сравнительно небольшие, но хорошо обученные и снабженные оружием ближнего боя (автоматическим, холодным, гранатами, огнеметами), штурмовые группы могли просачиваться в глубину обороны, прерывать связь и пути снабжения, нападать на командные пункты. Ключом к их способу действий были внезапность и подвижность, которую и могли бы обеспечивать и сохранять легкие танки. Однако их постройка так и ограничилась несколькими опытными образцами.

Совместными усилиями группы Фольмера и конструкторов Круппа на шасси LK-II был разработан бронированный артиллерийский тягач-транспортер. Он имел полностью закрытый корпус с дверями в бортах и корме. В лобовом листе корпуса устанавливался пулемет так, чтобы пулеметчик размещался чуть позади водителя. Кроме того, имелись амбразуры для пулемета в бортах. Экипаж вместе с возимым расчетом орудия составлял 6 человек. Эта весьма перспективная разработка была одобрена, но не реализована в металле; британские «бронированные артиллерийские транспортеры» уже действовали на фронте.

После войны, уже в начале 1920-х годов, в Швеции по проекту Й. Фольмера на заводе «Ландсверк» начали выпускать первый шведский танк Strv M/21. Он был прямым развитием пулеметного варианта LK-II.

Тактико-технические характеристики LK-II

Боевая масса, т 8,89 Экипаж, человек 3 Высота, м 2,7 Длина, м 5,1 Ширина, м 1,97 Клиренс, м 0,4 Толщина брони, мм: лоб 14 борт 14 корма 14 крыша и днище 8 Вооружение 37-мм пушка Боекомплект, выстрелов 100 Двигатель: марка различных марок тип карбюраторный число цилиндров 4 охлаждение жидкостное мощность, л.с. 50-60 (при 1400–1500 об/мин) Запас топлива, л 170 Трансмиссия механическая, с 4-скоростной коробкой передач Механизм поворота простой дифференциал Бортовой редуктор однорядный Ходовая часть (на один борт) 24 опорных катка, заднее расположение ведущего колеса Подвеска блокированная упругая, на винтовых пружинах Тип гусеницы металлическая, крупнозвенчатая Количество траков в цепи 74 Тип зацепления зубовое Ширина трака, мм 250 Шаг трака, мм 140 Максимальная скорость, км/ч 12-16 Запас хода, км 64-70 Удельное давление, кг/см² 0,6 Преодолеваемый подъем, град. 41 Ширина преодолеваемого рва, м 2,0

Опытный сверхтяжелый танк «K-Wagen» («Колоссаль»)

В мае 1918 г. итальянский офицер Дж. Дуэ задумал обнародовать свои взгляды на средства ведения современной войны в форме фантастического романа «Крылатая победа». В книге он «снабдил» Германию двумя тысячами «колоссальных танков Круппа по 4000 т весом, с 6 дизелями по 3000 л.с. (из них 2 запасных), со скоростью 4 км/ч, разбрызгивающих на площади полукруга радиусом в 100 м зажигательную жидкость, экипаж — всего 2 человека». Такие колоссы понадобились Дуэ исключительно для того, чтобы оттенить мощь предлагавшейся им «межсоюзнической воздушной армии», сокрушающей в романе германскую и австрийскую армии ударами по тыловым коммуникациям. Разумеется, на самом деле подобных чудовищ в Германии строить не собирались, однако идея «подвижной крепости» все же нашла свое крайнее выражение в виде первого воплощенного в металл сверхтяжелого танка. Тут стоит отметить, что после первых потрясений 1914 г. от огня германской тяжелой артиллерии и газовых атак 1915 г. союзники постоянно ожидали от Германии неких «технических чудовищ».

Уже в конце марта 1917 г. ставка Главного командования выдала требования на «сверхтанк» (Gross Kampfwagen) весом до 150 т. Й. Фольмер получил от Инспекции автомобильных войск соответствующее задание на разработку. Непосредственно разработкой занимался инженер Мюллер-Нойгауз, известный до этого разработкой грузового «уличного автопоезда» с активными прицепами и бензоэлектрическим приводом. Проект танка был утвержден военным министерством 28 июня 1917 г. и стал известен под обозначением «K-Wagen» (Kolossal-Wagen или просто K-Wagen). Предполагалось, что танк будет иметь броню толщиной 30 мм, две или четыре пушки калибра 50—77-мм, четыре пулемета, два огнемета (снова огнеметы), экипаж 18 человек, два двигателя по 200–300 л.с., сможет преодолевать ров шириной до 4 м. На разработку проекта и постройку первого танка был отведен год, но ставка Главного командования сократила этот срок до восьми месяцев. Претенциозная программа постройки 100 танков (при первом заказе на 10) была труднореализуемо, большинство узлов приходилось разрабатывать заново. Расчетная стоимость одного сверхтанка составляла не менее 500 тыс. рейхсмарок.

Так должен был выглядеть сверхтяжелый танк «K-Wagen» после сборки.

Схема компоновки танка «K» в основе своей была заимствована у британцев (в самом начале развития какой-либо отрасли техники, естественно, начинается копирование первого зарекомендовавшего себя образца): гусеницы охватывали корпус, а вооружение — 4 пушки и пулеметы — устанавливалось в широких спонсонах и в бортовых амбразурах. Однако взаимное расположение отделений было аналогично A7VU — впереди располагались отделения управления и боевое, позади — моторно-трансмиссионное. При этом обитаемое отделение без спонсонов и моторно-трансмиссионное занимали примерно равный объем корпуса. Экипаж вновь оказался рекордным — 22 человека.

В отделении управления помещались два водителя. На крыше танка в передней части монтировалась цилиндрическая рубка управления (башенка) со смотровыми щелями по периметру и люком в крыше. Рубка предназначалась для командира танка и артиллерийского офицера. За ней располагались два круглых люка.

Корпус танка собирался на каркасе из крупных листов катаной брони на заклепках и болтах. Съемные спонсоны имели сложную в плане форму. В скошенных передней и задней стенках уширенной части спонсона выполнялись орудийные амбразуры. В амбразуре устанавливалась 77-мм капонирная пушка с полуавтоматическим затвором. Эти пушки были взяты из форта в Идштайнере. Качающаяся часть орудия крепилась на поворотной тумбе с полуцилиндрическим щитом и ограждением казенной части. Наводчик располагался на сиденье слева от ограждения казенной части пушки, пользовался телескопическим прицелом и соосными маховиками. В передней стенке спонсона у угла располагалась установка пулемета MG.08. Такие же пулеметные установки имелись в узкой задней части спонсона, в бортах и лобовом листе отделения управления. Огонь из кормовых пулеметов должны были вести механики, основной обязанностью которых было наблюдение за состоянием двигателя и трансмиссии. Установка вооружения отвечала все тому же требованию кругового обстрела — в любом направлении танк «K» мог сосредоточить огонь примерно равной плотности. На крыше спонсонов выполнялись вентиляционные решетки.

Проекции сверхтяжелого танка «K-Wagen».

Уже проектная масса танка заставила искать более мощные двигатели. Для моторной группы выбрали два двигателя «Даймлер» по 650 л.с. Выхлопные трубы с глушителями и радиаторы двигателей выводились на крышу в кормовой части корпуса. Запас бензина составлял 3000 л. Оригинальную (т. н. «орбитальную») конструкцию имела ходовая часть. Гусеница состояла из чередующихся внутренних и внешних траков, а соединявшие их шарнирые болты служили осями для катков с ребордами по типу железнодорожных. Корпус по бокам был охвачен рельсовыми направляющими, по которым и «обкатывались» гусеницы. Такая гусеница ранее была опробована на тракторе «Орион». К ее достоинствам относились уменьшение потерь на трение в шарнирах и увеличение КПД гусеничного хода, однако увеличение массы гусеницы практически сводило эти достоинства на нет. Траки собирались на болтах и заклепках. Ведущее колесо — заднего расположения. Верхние ветви гусениц с передними и задними нисходящими ветвями прикрывались бронекрышей, переходящей в изогнутые бронеэкраны.

Предполагалось оснастить танк средствами связи — для радиста отвели место перед двигательным отсеком. Для перевозки по железной дороге «K» мог разбираться на 4 большие части. Как мыслилось поначалу боевое применение таких колоссов, понять довольно трудно. Очевидно, командование верило в возможность «прорвать в нескольких местах» фронт союзников (вспомним фантастическую «машину кайзера») с помощью подвижных крепостей — идея, возникавшая в те годы во всех воюющих странах. Однако уже 18 октября 1917 г. Опытное отделение Инспекции автомобильных войск признало, что танк типа «K» пригоден только в качестве средства позиционной войны. По вооружению «K» представлял собой артиллерийскую и пулеметную батареи, установленные в одном «подвижном форте». Для такого «подвижного форта» (или «позиционного танка») большое мертвое пространство в поле обзора из рубки было терпимо.

Контракт на постройку 5 экземпляров танка «K» был выдан шарикоподшипниковому заводу «Рибо» в Берлин-Вайсензее, на 5 других — «Вагонфабрик Вегман» в Касселе (а вовсе не заводам Круппа). Постройка танков была начата в апреле 1918 г. К концу войны на «Рибе» был почти достроен один танк, для второго были готовы бронекорпус и комплект основных агрегатов и узлов, кроме двигателей. Все это пошло на слом после поражения Германии и заключения Версальского мира. Испытания построенного танка так и не прошли, хотя фирма-производитель якобы просила об этом представителей победивших союзников.

Заметим, что спустя четверть века в Германии снова были построены два самых тяжелых танка — 180-тонные «Маус», также не принявшие участия ни в одном бою. В обе мировые войны, когда ситуация складывалась не в пользу Германии, германское военное руководство выдавало задание и выделяло ресурсы на «сверхтанки». Оба раза конструкторы закладывали в них оригинальные идеи и решения, и оба раза монстры оказывались мертворожденными.

Тактико-технические характеристики «K-Wagen»

Боевая масса, т 152 Экипаж, человек 22 Высота, м 3,3 (2,9 по крыше) Длина, м 12,98 Ширина, м 6,1 (3,1 без спонсонов) Клиренс, м 0,39 Толщина брони — лоб и борт, мм 30 Вооружение: орудие 4×77-мм пушки пулеметы 6-7×7,92-мм MG.08 Двигатель: марка 2׫Даймлер» тип карбюраторный число цилиндров 6 охлаждение жидкостное мощность, л.с. 2×650 Запас топлива, л 3000 Максимальная скорость, км/ч 7,5

Германские проекты 1918 г.

Конструкция A7V явно не удовлетворяла германское командование. Бои выявили многочисленные недостатки этих танков. Да и военное министерство склонно было пересмотреть требования к танкам. Это вызывало появление на протяжении 1918 г. все новых и новых проектов как «тяжелых штурмовых», так и более легких боевых машин.

Параллельно с разработкой легкого 8-тонного танка фирма «Крупп» представила 23 июля 1918 г. проект «малого штурмового танка» — несколько более тяжелой машины с 52-мм орудием и пулеметом. Проект не был принят, поскольку уступал бы в проходимости уже испытанному LK-I и разрабатывавшемуся LK-II.

Незадолго до конца войны был подготовлен и более перспективный проект легкого танка. Конструкция LK-I и — II была в известной степени компромиссом между желанием создать эффективную боевую машину и необходимостью максимально использовать имеющиеся автомобильные шасси. Поэтому еще до окончания постройки LK-II началось проектирование машины с более рациональной схемой компоновки. Проект получил обозначение LK-III. Гусеничное шасси и схема управления LK-II были в нем сохранены, но двигатель был перенесен в кормовую часть машины, а отделения управления и боевое, соответственно, смещены вперед. Двигатель помещался над коробкой передач и трансмиссией и должен был крепиться в трех точках на приливах картера коробки передач или особой раме. На той же раме впереди двигателя вертикально крепился бы радиатор с вентилятором. Таким образом обеспечивалась жесткая связь двигателя с трубопроводами радиатора при любых колебаниях и изгибах шасси. Вал дискового главного сцепления соединялся с ведущим валом зубчатой или цепной передачей, укрытой в переднем вертикальном приливе картера коробки передач. Удлиненный конец вала сцепления соединялся спусковой рукояткой, выведенной в боевое отделение. Вооружение — орудие или один пулемет — устанавливалось во вращающейся башне.

Нетрудно заметить, что LK-III выполнялся по той же компоновочной схеме, что и французский легкий «Рено» FT-17, разработанный годом раньше. Р. Крюгер утверждал, что «в Германии неприятельские формы… малых танков были совершенно неизвестны». Однако разработка LK-III велась явно под влиянием «Рено» FT: с танками «Рено» германские войска встретились в мае 1918 г. И все же надо отдать должное германским конструкторам, успевшим оценить преимущества классической компоновки и быстро «вписать» в нее уже разработанную машину. Планировалось оснастить танк радиостанцией. Но до постройки натурного образца дело уже не дошло.

Из проектов «тяжелых штурмовых» танков заслуживает особого внимания представленный в середине 1918 г. фирмой «Верхнесилезский Сталеделательный завод» проект «Oberschleisen» («Верхняя Силезия»). Танк должен был иметь компоновку с передним расположением отделения управления, средним — боевого, задним — моторного. При этом основное вооружение — 57-мм пушка — размещалось во вращающейся цилиндрической башне с командирским куполом, а два пулемета в передней и задней малых башнях. Карбюраторный двигатель авиационного типа AS3 «Аргус» мощностью 180 л.с. (при 1400 об/мин) при проектной массе машины около 20 т обеспечил бы ей удельную мощность 9 л.с./т. Запас бензина должен был составить 1000 л — вдвое больше, чем у A7V. Оригинальной чертой ходовой части было среднее положение приподнятого ведущего колеса — оно зацепляло верхнюю ветвь гусеницы и было прикрыто броней.

Проект танка «Oberschleisen»:

1 — посадочные люки, 2 — ведущее колесо, 3 — двигатель, 4 — коробка передач, 5 — тормоз, 6 — 57-мм пушка, 7–7,92-мм пулемет MG.08.

Проект привлек внимание ставки, распорядившейся 5 октября о постройке двух опытных образцов. Для ускорения работ неделю спустя приняли решение строить машины «Oberschleisen II» на шасси типа «Холт» с задним расположением ведущего колеса, но и этого не удалось сделать — проект остался нереализованным.

Определенные следы компоновочных решений «Oberschleisen» можно увидеть в разработанном через полтора десятилетия германском среднем танке Nb.Fz.

Тогда же, в октябре 1918 г., были представлены и другие проекты — «тяжелый штурмовой» танк «Ганновер» Л. Элерса, «пехотный» танк «Гессен-Кассель» фирмы «Вегман». В литературе упоминается также проект тяжелого танка «Хорьх» фирмы «Бенц-Браунер».

Тактико-технические характеристики «Oberschleisen» (согласно проекту)

Боевая масса, т 19 Экипаж, человек 5 Высота, м 2,965 Длина, м 6,7 Ширина, м 2,34 Клиренс, м 0,6 Орудие 57-мм пушка Пулеметы 2×7,92-мм MG.08 Двигатель: марка AS3 «Аргус» тип карбюраторный мощность, л.с. 180 (при 1400 об/мин) Запас топлива, л 1000 Максимальная скорость, км/ч 16

Организация и подготовка германских танковых подразделений

Танки сводились в рейхсвере в «штурмовые отделения бронированных машин» (Sturmpanzerkraftwagen Abteilung). Еще до окончания постройки первого A7V, 20 сентября 1917 г., военное министерство распорядилось о формировании двух «штурмовых отделений» по 5 танков. Приказ о формировании третьего отделения состоялся 6 ноября 1917 г. Экипажи для танков набирали по следующей схеме: водителей и механиков — из инженерных («пионерных») войск, наводчиков и заряжающих из артиллеристов, пулеметчиков — из пехоты. Офицеров брали из пехоты или автомобильных частей. Формирование 1-го отделения было закончено 5 января 1918 г., и его направили для обучения в школу вождения в Седане.

Организация танковых сил германского рейхсвера в 1918 г.

Всего сформировали 9 «штурмовых отделений» по пять танков каждое. 1, 2 и 3-е были укомплектованы танками A7V, еще 5 A7V использовались как резерв. 11, 12, 13, 14, 15 и 16-е отделения были оснащены трофейными британскими танками Mk IV и стали известны под названием Beutepanzerkampfwagen Abteilung («отделения трофейных бронированных машин»). Одно такое «отделение» Mk IV состояло из двух танков-«самцов» и трех «самок». 13-е и 16-е отделения числились «баварскими».

Германцы оказались первыми после британцев, кто использовал их танки в бою, отремонтировав и перевооружив часть захваченных Mk IV. Эти Mk IV были в основном взяты под Камбрэ и имели направляющие на крыше для балки самовытаскивания. Трофейные танки немцы ремонтировали в мастерских в Шарлеруа (Бельгия), где размещался 20-й Баварский армейский автопарк. Упоминается, что рейхсвер имел до 75 трофейных танков. Трофейные танки германцы ремонтировали в мастерских в Шарлеруа. Часть Mk IV они перевооружили 57-мм пушками «Максим-Норденфельд» с соответствующим щитовым прикрытием по типу A7V и 7,92-мм пулеметами MG.08/15. Такие танки под обозначением «Beutepanzerwagen IV» и «родные» Mk IV состояли на вооружении четырех или шести германских танковых «штурмовых отделений».

В ходе боев 1918 г. было захвачено также несколько средних британских танков Mk A «Уиппет». Они были подготовлены к боевому применению, зачислены в «штурмовые отделения», но каких-либо сведений об использовании их германцами на фронте нет.

Танки составляли «боевой эшелон» отделения. «Технический эшелон» под командованием офицера-техника включал эвакуационный отряд на грузовиках, подвижную мастерскую, машины подвоза боеприпасов, горючего и запчастей, полевую кухню и тягач — всего 9-10 грузовых, 2 легковых автомобиля и мотоцикл.

Штат «штурмового отделения» зависел, конечно, от типа танков. Отделение A7V включало 176 человек: командир в звании капитана, 5 младших офицеров (лейтенантов) — командиров машин и 170 фельдфебелей, унтер-офицеров и рядовых, включая мастеров, чинов связи, фельдшера, вестовых и пр. В штат отделения Mk IV входило до 140 человек.

Танковые «штурмовые отделения» подчинялись командующему бронечастями, штаб которого располагался в Шарлеруа (Бельгия), где размещался 20-й Баварский армейский автопарк. В его мастерских готовились к бою и проходили ремонт как A7V, так и трофейные Mk IV. Командующий бронечастями подчинялся Начальнику полевого автомобильного штаба при ставке Главного командования.

У командования танки по-прежнему не вызывали особого энтузиазма. Начальник Большого Генерального штаба генерал-фельдмаршал Гинденбург, осмотревший в марте в Шарлеруа первые 10 машин, высказался весьма скептически: «Вероятно, они не принесут большой пользы, но так как они уже сделаны, то мы попробуем их применить». В предстоящем наступлении в вопросах «прорыва» германское командование основной упор делало на внезапность атаки, наступательный порыв пехоты, использование автоматического оружия, огневую мощь артиллерии и тщательную организацию ее огня. Ставка Главного командования издала инструкцию «Взаимодействие танков с пехотой», гласившую, между прочим: «Пехота и танки продвигаются независимо друг от друга… При движении с танками пехота не должна подходить к ним ближе 200 шагов, так как по танкам будет открыт артиллерийский огонь». То есть, по сути, взаимодействие отрицалось — германское командование повторяло первые ошибки британского.

Правда, при подготовке 1-го и 2 —го «штурмовых» отделений в Бёвиле (близ Монмеди) они все же прошли совместную тренировку с пехотными штурмовыми отрядами. Хотя этот многообещающий опыт не имел продолжения в Первую мировую войну, много позже сочетание тактики штурмовых групп с танковыми подразделениями (плюс, конечно, связь и взаимодействие с артиллерией и авиацией) дало новой германской армии существенные преимущества.

Обозначения и окраска танков. Экипировка экипажей

Германские танки окрашивались различно. Поначалу преобладала однотонная окраска в светло-зеленый или серо-стальной цвет «фельдграу». Затем некоторые танки — по примеру английских — стали покрываться деформирующей пятнистой окраской. Пятнистую окраску имели, к примеру A7V № 507, № 529 и № 562 во время весенних боев, № 560 в июне, № 504 и № 528 — в августе. На бортах, на лобовом и кормовом листах рисовались черные «тевтонские» кресты. Поначалу на каждом борту рисовался один крест, а с мая 1918 г. — по два. Большие кресты служили скорее не для «поднятия духа» экипажей, а для предохранения их от обстрела своими же войсками — ведь германская пехота и артиллерия больше привыкли к наличию танков у противника. Некоторые танки — как, например, № 527 — имели кресты и на вентиляционных решетках крыши — очевидно, в расчете на свои самолеты-штурмовики. Между крестами посередине борта, а также на лобовом и кормовом листах помещалась римская цифра — номер танка в подразделении. В соответствии с традициями тех лет каждая бронемашина имела, подобно кораблю или форту, собственное имя. Системы в наименованиях не было ни по первым буквам, ни по смысловой нагрузке — здесь и мифологические персонажи вроде «Мефисто», «Вотан» или «Циклоп», и персонажи эпоса о Нибелунгах — «Зигфрид», «Хаген», и популярные исторические — «Старый Фриц» (прозвище прусского короля Фридриха II) или «Король Вильгельм». Танк № 501 упоминается под именем «Гретхен» (видимо, потому, что строился первоначально как «женский тип»), 504 — «Шнук», 505 — «Баден I», 506 — «Мефисто», 507 — «Циклоп», 525 — «Зигфрид», 527 — «Лотти», 528 «Хаген», 529 — «Никсе 2», 540 — «Хейланд», 542 — «Эльфриде», 560 — «Старый Фриц», 561 — «Никсе», 562 — «Геркулес», 563 — «Вотан». Танки могли и менять имя — так, A7V № 543 в составе второго «штурмового отделения» нес имя «Хаген», после передачи в третье отделение был переименован в «Адалберт», а позже — в «Король Вильгельм». Имя на A7V наносилось белой краской на лобовой и кормовой частях вверху слева или справа. Некоторые танки несли собственную эмблему — на левом лобовом листе «Мефисто» изображен черт, несущий под мышкой британский «ромбовидный» танк (германский юмор — дескать, «утащим британских танкистов в ад»). Танки первого «штурмового отделения» несли «адамову голову» — изображения черепа и скрещенных костей, старинного символа бессмертия духа, принятого в качестве эмблемы еще прусской кавалерией эпохи наполеоновских войн («череп с костями» была, кстати, популярна в конце войны и у русских «ударных» частей, включая бронечасти). «Адамова голова» как бы роднила танковые «штурмовые отделения» со штурмовыми группами германской пехоты (по мнению ряда историков, именно способы действий штурмовых пехотных групп и батальонов в 1917–1918 гг. стали основой дальнейшего развития тактики танков).

Экипаж танка A7V сфотографировался на фоне своей машины. Весна 1918 г. Обратим внимание на разнообразие в форме одежды, а также на окраску танка.

В сентябре 1918 г. командование решило упорядочить систему обозначения танков. 22 сентября 1918 г. специальным приказом для нового боевого средства вместо заимствованного английского «Tank», а также собственных словообразований «Panzerwagen», «Panzerkraftwagen» и «Kampfwagen» был официально утвержден термин «Sturmpanzerwagen» (впоследствии в Германии предпочли более короткое «Panzer»), а также типовая деформирующая окраска боевых машин. Поверх обычного «фельдграу» наносились пятна и полосы неправильной формы красно-бурого, светло-зеленого и лимонно-желтого цветов. Изображение черепа и костей наносилось теперь на все танки, включая трофейные. Тевтонские кресты заменяются прямыми черными крестами с белым окаймлением, подобными тем, что позже использовались в вермахте. Некоторые машины — как № 507 «Циклоп» — несли на корме изображение черно-бело-красного флага.

Британские танки на «германской службе» сохраняли «родную» пятнистую окраску, поверх которой в обязательном порядке рисовалось по два больших тевтонских креста на бортах и кресты на корме и лобовом листе, имя и номер танка. Так, трофейный пулеметный Mk IV с номером 153 нес имя «Ханни» (Hanni), кресты и «адамову голову».

Германские танкисты поначалу носили ту форму, которую принесли из своих родов оружия. Для пехотинцев и артиллеристов это была обычная полевая форма, правда, без ранцев, подсумков и т. п. Кроме фуражки-бескозырки, голову иногда укрывали стальным шлемом. Автомобилисты принесли с собой кожаные куртки, «очки-консервы». Позже экипажи танков стали использовать авиационные куртки и комбинезоны (из двух частей). Применялись и защитные цельные комбинезоны с содержанием асбеста — обычно их имели водители, помощники водителя, иногда механики. Кожаные амортизирующие шлемы с защитными валиками были позаимствованы у летчиков и мотоциклистов. Позже появились кожаные шлемы упрощенной формы, напоминающие британские каски. Шлемы часто дополняли кожано-металлические маски с прорезями для глаз и кольчужной бородой, защищавшие лицо и глаза от мелких осколков брони и пуль. Такие маски были позаимствованы отчасти у британских «коллег» (могли использоваться трофейные). На поясе носилась пистолетная или револьверная кобура, кинжал в ножнах. В снаряжение экипажей обязательно включались противогазы.

Более 800 000 книг и аудиокниг! 📚

Получи 2 месяца Литрес Подписки в подарок и наслаждайся неограниченным чтением

ПОЛУЧИТЬ ПОДАРОК