Французские танки

We use cookies. Read the Privacy and Cookie Policy

Начало работ во Франции

Приписывать «отцовство» танка и тем более создание танковых сил какому-либо одному лицу было бы, мягко говоря, некорректно. Но первые французские танки и танковые силы действительно появились на свет благодаря энергии и упорству одного человека — полковника, впоследствии генерала Жана-Батиста Этьена (Estienne, 1860–1936 гг.). Осенью 1914 г. Этьен, служивший начальником штаба 22-го артиллерийского полка, начал прорабатывать мысль о боевой машине, способной продвигаться вместе с пехотой по полю боя. К тому времени, надо отметить, Этьен, отличный математик, был известен как один из инициаторов применения во французской армии стрельбы с закрытых позиций, в связи с чем им был разработан ряд артиллерийских приборов, проведены работы по внедрению телефона для управления огнем батарей, как артиллерист, он стал и одним из организаторов французской авиации, использовавшейся для корректировки артиллерийского огня, а также большим энтузиастом внедрения мотора в армию.

Испытания во французской армии трактора «Холт» с двигателем в 45 л.с. на преодоление рвов 21 февраля 1916 г. (трактор дополнительно нагружен).

Мощь огня германской артиллерии и пулеметов, о которые разбился «наступательный дух» французской пехоты в первые же месяцы войны, установившийся позиционный фронт заставили Этьена, дотоле всячески заботившегося об организации и улучшения меткости огня артиллерии с закрытых позиций, задуматься о способе продвигать 75-мм полевые пушки вместе с пехотой по полю боя и через траншеи для прорыва обороны противника на всю глубину. В августе 1915 г. он присутствовал на испытаниях американского гусеничного трактора «Холт» в заболоченных районах Соммы. Проходимость и сила тяги трактора натолкнули его на мысль создать боевую машину на его шасси. 23 августа он написал: «Господа! Победа в этой войне достанется тому из двух противников, кто первым сможет поставить 75-мм пушку на машину, способную пройти по любой местности» (позже он решил, что достаточны будут и малокалиберные пушки). Конечно, во французской армии Этьен не был ни единственным, ни первым. Поиск способов «безопасно» довести пехоту со средствами поддержки до первых линий вражеских окопов, приводя к молчанию оживающие пулеметы противника, велся многими. Достаточно вспомнить известные французские пехотные щиты в виде коробчатого сооружения на двух колесах, внутри которого солдат мог передвигаться по полю, отталкиваясь коленями от земли, и вести огонь через две имеющиеся бойницы. Пытались создать и бронированные машины для прорыва заграждений противника — пример тому испытывавшийся в 1915 г. бронированный трактор «Бретон-Прето» на колесах с широким ободом, оснащенный большой пилой для разрезания проволочных заграждений.

Но именно Этьен не только вовремя и правильно понял назначение будущей боевой машины, но и детально обосновал принципы ее боевого применения, к тому же проявил незаурядную настойчивость в «пробивании» нового оружия среди высшего командования. Прежняя служба, исследовательскими практические работы обеспечивали Этьену, как и Суинтону в Великобритании, определенный авторитет и связи в военном руководстве.

В подробной докладной записке от 1 декабря 1915 г. Этьен излагает основные характеристики «наземного броненосца» (a cuirasse terrestre) — масса 12 т, длина 4, высота 1,6 и ширина 2,6 м, экипаж 4 человека, толщина брони 15–20 мм, вооружение — 37-мм пушка для борьбы с защищенными пулеметными точками и два пулемета для самообороны, двигатель в 80 л.с., скорость хода 3–9 км/ч. «Броненосец» должен был преодолевать рвы шириной до 2 м, тянуть за собой (при угле подъема до 20°) бронеприцеп массой 7 т с 20 пехотинцами (так, пока еще чисто теоретически, зарождалась пара «танк — бронетранспортер»). Применение «броненосца» основывалось на внезапности и массировании с плотностью одна машина на 100 м фронта, атаку предполагалось начинать на рассвете без артиллерийской подготовки с задачей захватить две первые линии окопов и обеспечить продвижение пехоты. При этом Этьен предлагал сразу пустить в дело такое количество «броненосцев», которое было бы достаточно для поддержки 20 000 пехотинцев, чтобы в ходе первой же операции прорвать германскую оборону на широком фронте и на большую глубину. По той же причине он считал необходимым для «броненосца» запас хода не менее 40 км.

Тут подоспели другие эксперименты. 9 декабря в Суане на изрытых окопами местах недавних боев испытали трактор модели «Бэби» фирмы «Холт» с 45-сильным двигателем, оснащенный макетом бронекорпуса из обычной котельной стали. Трактор показал хорошую проходимость по слабому грунту, но не смог преодолеть стандартный германский окоп из-за малой длины гусеничного хода. Этьен, присутствовавший при испытаниях вместе с генералом Д.Ф. Петеном, пришел к выводу о необходимости удлинения шасси.

12 декабря в Шантильи Этьен лично доложил свои предложения генералу для поручений при главнокомандующем Жанену. Авторитет и энтузиазм полковника плюс фактическая бесплодность медленных «грызущих операций» на фронте помогли преодолеть сомнения и недоверие генералитета, заручиться поддержкой главнокомандующего генерала Ж. Жоффра.

За технической помощью Этьен обратился от имени Жоффра к известному конструктору и владельцу автомобилестроительной фирмы Луи Рено, уже активно сотрудничавшему с военным министерством. Однако тот, загруженный текущими заказами и, видимо, не желавший рисковать в новом и неясном деле, отказался, сославшись на отсутствие опыта в разработке гусеничных машин. Этьен вспомнил, что подобным опытом располагает один из крупнейших производителей вооружения, концерн «Шнейдер-Ле Крезо». Компания «Шнейдер» была старейшим и едва ли не крупнейшим поставщиком военного ведомства Франции, ее заводы в Крезо выпускали различные артиллерийские системы (французская полевая артиллерия была вооружена в основном орудиями «Шнейдер»), стрелковое оружие, двигатели, локомотивы, железный и стальной прокат, включая катаную броню. Еще в январе 1915 г. там под руководством главного конструктора Эжена Брийе (Brillie) переделали гусеничный трактор «Бэби Холт» в артиллерийский тягач, и эта работа весьма заинтересовала военное министерство. С мая 1915 г. Брийе вместе с Ж.-Л. Бретоном пытался приспособить «Бэби Холт» под носитель той же пилы для разрезания проволочных заграждений, что и в колесном проекте «Бретон-Прето». Опираясь на указания, полученные от Генерального штаба 20 декабря 1915 г., Этьен встретился с Брийе и ознакомил его с тактико-техническими требованиями к будущей боевой машине (носившими, понятно, пока самый общий характер). К 22 декабря было готово техническое предложение.

24 января 1916 г. Этьен в письме главнокомандующему генералу Жоффру уточнил требования к будущей машине и принципы ее применения (по две машины на пехотную роту, движение впереди пехоты под прикрытием темноты или тумана). Уже через неделю, 31 января 1916 г., Жоффр, пересылая предложения Этьена статс-секретарю военного министерства, потребовал заказа на 400 подобных машин. Третье бюро штаба главнокомандующего разработало собственный проект их боевого применения. Стоит отметить, что французы подошли к заказу новых и еще не проверенных машин решительнее британцев и сразу подключили к делу крупнейшую металлургическую и машиностроительную компанию. Очевидно, сказался тот факт, что боевые действия шли непосредственно на территории Франции, часть страны была занята германской армией, а тупик позиционной войны был виден непосредственно, и в этих условиях новое средство борьбы вызывало более живой интерес.

В феврале 1916 г. в Венсене успешно испытали опытный экземпляр будущего танка. 25 февраля «Шнейдер» получила заказ на 400 машин со сроком поставки до 25 ноября. Стоимость одной машины оценивалась в 56 тыс франков. Сразу же вступили в действие законы государственной бюрократической машины.

Государственный секретариат артиллерии и начальник армейского управления моторизации сочли себя обойденными в вопросе заказа нового оружия, непосредственно их касающегося. Они обратились к другой крупной фирме — обществу «Форж э Асиери де ля Марин» в г. Сен-Шамон («Forges et Acieries de la Marine et Homecourt a Saint Chamond», FAMH), бывшему, кстати, вторым после «Шнейдер» поставщиком различных сортов брони. Здесь разработкой боевой машины занялся известный артиллерийский конструктор полковник Эмиль Римайо (Rimaiho). Этьена, отбывшего в это время в III корпус под Верден, просто проигнорировали. Через два месяца проект был готов, и 27 апреля 1916 г. вице-секретарь артиллерии (эту должность исполнял честолюбивый депутат-социалист А. Тома) сообщил главнокомандующему о проекте «бронированного трактора», имеющего якобы серьезные преимущества перед «Шнейдером», благодаря установке длинноствольной пушки и четырех пулеметов вместо двух. В результате FAMH тоже получило заказ на 400 машин.

Летом 1916 г. Этьен и Бретон направляются в Великобританию, надеясь убедить союзников не использовать готовые танки на фронте, пока французы не подготовят свои, чтобы нанести согласованные удары, — эту просьбу британское командование проигнорировало так же, как требования собственных «танкистов» не пускать танки в дело, пока их не удастся накопить в достаточном количестве.

Первое официальное название французские танки получили опять же из соображений секретности — «артиллерийские трактора». Для новых частей приняли название «e’artillerie d’assaut» — «штурмовая артиллерия» или «e’artillerie speciale» — «специальная артиллерия», что в принципе соответствовало отводимой им изначально роли. Французы разворачивали работу над танками несколько позже британцев и ставили перед машинами несколько иные задачи. Британские тяжелые танки рассчитывались прежде всего на содействие пехотной атаке первых линий неприятельских окопов, прикрытых проволочными заграждениями. Но к 1916 г. на Западном фронте не только усилились средства позиционной обороны, но и определились новые черты в тактике оборонительного боя. Основные усилия обороны переносились на вторую позицию, в результате пехота, даже прорвавшая при мощной поддержке артиллерии первую позицию противника, оказывалась перед более сильной второй позицией, где было значительно больше непораженных и неподавленных огневых средств и где своя артиллерия уже не могла оказать ей эффективной поддержки. Пехоте требовалась артиллерия сопровождения, и как раз эту задачу могли взять на себя новые боевые машины, «перемещающие» по полю боя вслед за пехотой защищенное броней орудие. То есть французские средние танки рождались, по сути, как самоходные артиллерийские установки сопровождения пехоты.

Командующим танковыми силами («штурмовой артиллерией») 30 сентября 1916 г. назначили Этьена, официально прикомандировав его к главнокомандующему. 17 октября Этьен получил звание бригадного генерала. Став командующим «штурмовой артиллерией», он со своими новыми сотрудниками, развивая первоначальную идею, разработал тактику действий, основанную на разделении задач между эшелонами танков. Первый эшелон прорывает оборону противника и действует вне непосредственной связи с пехотой, подавляя огневые точки в глубине пехотной полосы обороны, второй эшелон непосредственно поддерживает пехоту, двигаясь в ее боевых порядках. После прорыва первой полосы обороны танки вместе с пехотным десантом на специальных транспортерах продвигаются до артиллерийских позиций противника. Но реализовать эти планы французам не довелось — только в августе 1918 г. нечто подобное попробовал осуществить британский Танковый корпус. Французские танки практически повсеместно действовали только как средство сопровождения пехоты.

В ноябре 1918 г. оснащение танковых сил техникой перешло в ведение Министерства вооружений и снабжения, где действовал тот же А. Тома. Руководитель вице-секретариата изобретений депутат парламента Ж.-Л. Бретон поспешил организовать «Консультативный комитет по специальной артиллерии» под своим председательством и с участием как специалистов, так и депутатов — почуяв успешное начинание, на нем пытались нажить не только финансовый, но и политический капитал. Куда полезнее оказалась впоследствии практическая работа дефектной комиссии, подававшей свои заключения в комитет. На 31 марта 1917 г. французы располагали уже 208 танками «Шнейдер» и 48 «Сен-Шамон», хотя боеготовыми были только 160.

Средний танк CA-1 «Шнейдер»

После того как 21 февраля 1916 г. в Венсене испытали удлиненное шасси гусеничного трактора, инженер Брийе отказался от непосредственного использования коммерческого шасси «Холт», однако использовал элементы его ходовой части с блокированной пружинной подвеской. Первый танк «Шнейдер-Ле Крезо» был готов 8 сентября 1916 г., однако выполнение заказа затянулось, и мечта Этьена о том, что именно французы начнут танковую войну, не осуществилась.

Боевая машина получила индекс CA-1, но более известна просто как «Шнейдер» (Schneider). CA-1 обычно расшифровывают как «char d’assaut-1») «штурмовой танк первой модели»), но есть и другая, более «сложная» версия, согласно которой первая опытная модель фирмы именовалась Tracteur A (хотя под таким же обозначением был представлен и первый прототип «Сен-Шамон»), вторая — Tracteur B и, наконец, се-рийная — Tracteur C, а вторая буква (A) в аббревиатуре означала первую производственную серию. Но как бы то ни было, а обозначение CA-1 было официально утверждено. «Char d’assaut» стало обозначением танка во французском языке, хотя его предпочитают сокращать просто до «char» — «повозка» или «колесница».

Средний танк CA-1 «Шнейдер» в камуфляжной окраске.

Танк CA-1 «Шнейдер» вид сзади-сбоку. Хорошо видны бортовая пулеметная установка, кормовая дверь, «хвост», короб с вентиляционной щелью.

Конструкция «Шнейдер» чем-то напоминала опытный «№ 1 Линкольн» результат схожих исходных посылок. Конструкция собиралась на прямоугольной раме таким образом, что корпус танка оказывался над ходовой частью. Жесткая рама образовывалась двумя продольными балками и поперечными связями. Экипаж танка включал шесть человек — офицера, унтер-офицера и четырех солдат. В передней части корпуса слева располагался двигатель, справа от него сидел водитель (он же — командир танка). Для наблюдения водитель пользовался смотровым окном с откидной бронезаслонкой и тремя смотровыми щелями. Справа от водителя, в небольшом спонсоне, образованном уступом правого борта корпуса, устанавливалась короткоствольная 75-мм пушка. Для посадки-высадки служила двустворчатая дверь в задней стенке корпуса, водитель мог покинуть танк через крышу своей рубки.

75-мм пушка специальной конструкции имела ствол длиной всего около 13 калибров, клиновый затвор, выстрел отличался от штатного выстрела 75-мм полевой скорострельной пушки уменьшенным пороховым зарядом. Начальная скорость снаряда массой 7,25 кг — 200 м/с; максимальная прицельная дальность стрельбы — 600 м, эффективная — до 200 м. Угол наведения в горизонтальной плоскости был около 40°. Стрельбу из пушки вел помощник командира, позади него располагался заряжающий. Боекомплект пушки — 90 выстрелов. Кроме пушки, танк вооружался двумя 8-мм пулеметами «Гочкис» Mle 1914 по бортам в карданных установках, прикрытых большими полусферическими бронещитами (из-за этого установку часто относят к «шаровым»). Пулемет имел автоматику на основе отвода пороховых газов из канала ствола через поперечное отверстие, темп стрельбы 600 выстр./мин, питание из жестких лент (обойм), сцепленных по несколько штук до 96 патронов в такой ленте; органами управления служили пистолетная рукоятка и рукоятка на затыльнике пулемета, питание из ленты (крепление на пулеметной установке патронной коробки с лентой составило, кстати, большую проблему). Угол наведения пулеметов в горизонтальной плоскости был достаточно велик. Огонь из правого пулемета вел отдельный пулеметчик, из левого — механик, отвечавший за работу двигателя. К преимуществам CA-1 «Шнейдер» перед первыми британскими танками можно отнести упругую подвеску ходовой части и управление одним человеком.

Проекции среднего танка CA-1 «Шнейдер».

Продольный разрез и схема устройства ходовой части танка CA-1 «Шнейдер».

Прямоугольный корпус собирался клепкой на каркасе из листов 11-мм катаной брони. Характерная нависающая передняя часть корпуса напоминала нос корабля и оснащалась «бушпритом», предназначенным для разрушения проволочных заграждений (по принципу ледокола), а также облегчавшим преодоление рвов. Для преодоления широких рвов служил и небольшой «хвост» позади корпуса. Вскоре после начала производства требования к бронезащите повысили — германские войска после применения танков британцами стали широко применять бронебойные винтовочные пули типа SmK, пробивавшие на дальности 100 м стальной лист толщиной до 11 мм. На «Шнейдере» полную защиту от пуль и осколков обеспечили, усилив лобовую и бортовую броню установкой дополнительных 5,5-мм листов с промежутком около 40 мм. Подобная разнесенная броневая конструкция не была новинкой — разнесенную двух— и трехслойную броню уже использовали на бронепоездах и бронеавтомобилях (бельгийский бронеавтомобиль «Минерва», например, имел цементную прослойку между бронелистами, что вызывалось использованием для импровизированной бронировки тонкой брони невысокого качества или мягкой стали). Завод «Шнейдер» обещал установку усиленного бронирования, сначала начиная со 129-й машины, потом с 210-й, так что производство работ по усилению бронирования пришлось взять на себя мастерским учебного лагеря «штурмовой артиллерии в Шамплиэ.

Внутренний интерьер танка CA-1 «Шнейдер» Видны место водителя (механика-водителя), орудийная установка справа от него, пулеметные установки по бортам.

«Шнейдер» имел бензиновый мотор специальной постройки. Это был 4-цилиндровый двигатель «Пежо» или «Шнейдер», номинальной мощностью 40 л.с., максимальной 65 л.с., с жидкостным охлаждением и автоматической смазкой. Цилиндры диаметром 135 мм были сблокированы по два, ход поршня составлял 170 мм. Максимальное число оборотов — 1200 в минуту. Карбюратор включал два жиклера. Воспламенение электрическое, от магнето. Радиатор размещался впереди двигателя и обдувался вентилятором. Защищенные броней топливные баки располагались в носовой части танка ниже двигателя, и бензин подавался принудительно под давлением, создаваемым отработанными газами через пульсатор), а при необходимости — ручным насосом. Механическая трансмиссия включала трехскоростную коробку передач с реверсом, дававшую скорость хода от 2 до 8 км/ч. Механизмом поворота служил дифференциал.

Бортовая пулеметная установка танка «Шнейдер», смонтированная на поворотном кронштейне и снабженная полусферическим щитом.

Ходовая часть включала на каждый борт две тележки — передняя несла три сдвоенных опорных катка, задняя — четыре. Тележки соединялись друг с другом и с рамой корпуса шарнирными рычагами, связывались с рамой винтовыми цилиндрическими пружинами. В вилке передней тележки крепилась ось спицованного направляющего колеса с винтовым механизмом регулировки натяжения гусениц. Гусеница состояла из 34 крупных траков. Элементами трака были подушка (башмак) и два рельса, по которым катились опорные катки с ребордами. Зацепление гусеницы расположенным сзади ведущим колесом — зубовое, за шарнир траков. Длина гусеничного обвода — 3 м, опорной поверхности — 1,8 м. Это позволяло преодолевать препятствия шириной до 1,5 м на труднопроходимых участках местности и 1,7–1,8 м в условиях прочного грунта.

Первое подразделение CA-1 сформировали 1 декабря 1916 г. 15 апреля следующего года первое подразделение «Шнейдер» прибыло в форт Тру-д'Анфор, а 17 апреля майор Боссю повел танки в атаку в районе Берри-о-Бак. Она оказалась неудачной, французы понесли большие потери от немецкой артиллерии, стоявшей на передовых позициях, кроме того, пехота не умела еще взаимодействовать с новыми машинами.

По опыту боев с 5 мая 1917 г. танки отзываются с фронта для модернизации. Снизу корпус «Шнейдер» прикрыли стальным листом — прежде всего для защиты механизмов от загрязнения. Для доступа к двигателю и улучшения вентиляции прорезали люк в левом борту. Работы по модернизации проводились в мастерских лагеря Шамплиэ, где, кроме перепланировки размещения топливных баков, на танки «Шнейдер» CA-1 установили также электростартер и лампы внутреннего освещения. На танки стали устанавливать перископический прибор наблюдения. Разработка запрошенного с самого начала панорамного прицела затянулась, и пришлось довольствоваться установкой улучшенного механического. Изменился и внешний вид машины. Ранняя модификация имела в кормовой части большую двустворчатую дверь и уступы, на которые на марше крепили бочки с дополнительным горючим. При модернизации уступы забронировали, их объем заняли топливные баки — для уменьшения пожароопасности их перенесли на корму машины, установив по обеим сторонам от дверцы; такой перенос к тому же несколько снизил загазованность обитаемого отделения. В переносе топливных баков и начавшейся установке глушителей можно увидеть аналогию с модернизацией первых британских танков, хотя у англичан выступы ходовой части защищали баки еще и с боков, к тому же эвакуироваться экипажу «Шнейдер» все равно приходилось через кормовую дверь, а она стала одностворчатой и более узкой. В результате модернизации масса танка превысила 14 т. Только к октябрю 1917 г. модернизированные машины вернулись на фронт. Однако модернизация не устранила главных недостатков машины — ограниченной проходимости, плохой вентиляции (как и у британских танков), ограниченного угла обстрела орудия.

Для перевозки средних танков по обычным дорогам был создан двухосный прицеп-транспортер с откидной аппарелью, буксировавшийся трактором.

В конце октября 1917 г. в Шамплиэ испытали по два «радиотанка» на основе разоруженных «Шнейдера» и «Сен-Шамона». Результат признали удовлетворительным.

Еще в начале 1917 г. по требованию технического управления армии инженеры «Шнейдер» приступили к работе над следующим, командирским вариантом CA-2, весившим 8 т, с 47-мм пушкой в поворотной башне. Однако первоначальный заказ на 50 машин отменили, когда стали очевидны перспективы командирских танков на шасси легких «Рено».

Следующая модификация CA-3 должна была весить 17 т и нести 75-мм пушку. Уже в марте 1917 года «Шнейдер-Ле Крезо» разработала проект танка с башней. Однако танковые части требовали вооружить существующий танк длинноствольной пушкой. Поскольку ее установка в башне кругового вращения была проблематична, Этьен предложил установить ее в носовой части корпуса с углом наведения в горизонтальной плоскости 20°. На CA-3 пушка крепилась в установке с вертикальным и горизонтальным полуцилиндрическими щитами. Важной чертой было наличие механических приводов наведения с маховичками, что должно было повысить удобство и меткость стрельбы.

Небронированная ремонтная машина на шасси танка «Шнейдер».

В то же время Управление автомобильной службы представило проект среднего танка с 47-мм пушкой в башне, рассмотренный Консультативным комитетом 10 мая 1917 г. Проектные боевые характеристики танка незначительно превосходили легкий «Рено», да и 47-мм пушка и выстрелы к ней еще не были готовы. Этот проект был отклонен, как и последовавший за ним проект с малокалиберной пушкой в башне и 75-мм в корпусе (позднее к этой идее французы вернутся в танке B1). Решено было довести до «железа» проект CA-3 «Шнейдер», установив двигатель мощностью 76–80 или 100 л.с. 18 мая выдали заказ на 400 единиц со сдачей через год. Прототип испытали 24 октября 1917 г. Стало ясно, что такая модернизация не устранит главных недостатков танка «Шнейдер» — прежде всего малой проходимости. Да и предназначенный для этого танка двигатель еще не пустили в производство, и 27 октября последовало решение Консультативного комитета остановить — не смотря на возражения Министерства вооружений и снабжения — работы по CA-3 и сосредоточить усилия на выпуске легких танков «Рено» FT.

С начала 1918 г. CA-1 постепенно стали изымать из боевых частей и переделывать в артиллерийские тягачи и транспортеры для перевозки орудий и грузов, а также легких танков «Рено» — первая попытка создания вездеходного танкового транспортера. При этом с «Шнейдера» снимали вооружение, заделывали амбразуры, срезали крышу. К перемирию в войсках оставалось 97 «Шнейдеров» в различных вариантах. Позже часть из них переделали в ремонтные машины.

Средний танк «Сен-Шамон»

Главный конструктор FAMH полковник Римальо, взявшись за создание танка, принял за основу узлы ходовой части того же трактора «Холт», однако шасси было существенно доработано. Лейтенант Фуше удлинил его вдвое, значительно увеличив длину опорной поверхности гусениц. Этого требовала масса танка, возросшая из-за установки более сильного вооружения. Другой оригинальной чертой танка «Сен-Шамон» (Saind Chamond, упоминается также как H-16) стала электрическая трансмиссия Кроше-Колардо. К тому времени электротрансмиссия была известна на тяжелых транспортных машинах — например, на австрийских тяжелых артиллерийских тягачах фирмы «Эстеррайхише Даймлер» («Аустро-Даймлер»).

75-мм длинноствольную пушку с расчетом и пост управления разместили в большом переднем выступе (или рубке) корпуса, который уравновесили кормовой нишей корпуса, а двигатель и трансмиссию — в средней части. Впереди слева размещался водитель (унтер-офицер, функции командира танка и водителя здесь разделили), использовавший для наблюдения смотровую щель и бронеколпак. Боевое отделение разработал П. Лескур. Пушка устанавливалась по оси машины, слева от нее сидел наводчик. Правее пушки находилось место пулеметчика. Еще четыре пулеметчика (один из них исполнял также обязанности механика) с 8-мм пулеметами «Гочкис» Mle 1914 располагались у бортов и в корме. Для посадки-высадки служили двери в бортах передней части танка.

Прототип танка «Сен-Шамон» с бронированием ходовой части и большими башенками на крыше в носовой и кормовой частях корпуса.

Серийный средний танк» Сен-Шамон» с квадратной рубкой. В танк установлена качающаяся часть полевой 75-мм пушки Mle 1897 и 8-мм пулеметы «Гочкис» Mle 1914. Обратим внимание на передние ролики снизу рубки.

На первых 165 танках «Сен-Шамон» ставили 75-мм пушку L12 T.R. («скорострельную»), ранее разработанную Римайо, но не принятую французской армией. Затем использовали качающуюся часть стандартной 75-мм полевой пушки Mle 1897 с длиной ствола 36,3 калибра и крановым затвором. Стоит отметить, что до войны французы вообще считали эту отличную легкую полевую пушку «универсальным» орудием своей армии, а в ее разработке участвовал тот же Э. Римайо. Стрельба велась штатными унитарными выстрелами. Начальная скорость осколочного снаряда массой 7,25 кг у пушки Mle 1897 составляла 529 м/с. Размеры пушки и ее сравнительно длинный откат при выстреле обусловили большую длину носовой части корпуса. Угол наведения в вертикальной плоскости составлял от — 4 до +10°, дальность прицельной стрельбы — до 1500 м, но этот предел оказывался недостижим из-за плохих условий стрельбы. Наведение в горизонтальной плоскости ограничивалось 8°, так что перенос огня сопровождался поворотом всего танка.

Подразделение танков «Сен-Шамон» первых серий (с овальными башенками на плоской крыше), вооруженных 75-мм пушкой T.R.

Корпус представлял собой броневую коробку со скошенными скулами носа и кормы и плоской крышей, собранную из листов катаной брони клепкой на каркасе и установленную на раме. Борт корпуса собирался из семи вертикальных листов, стыки которых прикрывались и усиливались дополнительно полосами, грани корпуса усиливались стальными уголками. На прототипе впереди имелись командирская и водительская цилиндрические башенки, на серийных образцах их заменили овальными колпаками. Первоначально броневые листы бортов, прикрывая ходовую часть, доходили до осей опорных катков, но после первых испытаний в середине 1916 г. от этого пришлось отказаться, поскольку такая защита ухудшала и без того неважную проходимость. Смотровые щели и окна снабжались заслонками.

Проекции среднего танка «Сен-Шамон» с квадратной рубкой, покатой крышей, пушкой Mle 1897. Спереди и сзади от гусеничного хода под днищем видны ролики.

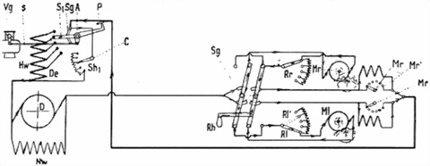
На танки ставили бензиновый двигатель фирмы «Панар» с четырьмя раздельными цилиндрами. Диаметр цилиндров — 125 мм, ход поршня — 150 мм. При 1350 об/мин двигатель развивал мощность 80–85 л.с., при 1450 об/мин — 90 л.с. Запуск производился стартером или заводной рукояткой. Два бронированных топливных бака крепились на раме у левого борта, один — у правого, подача бензина — под давлением. Двигатель работал на электрогенератор (динамо-машину), имевший два индуктора, каждый давал напряжение 200 В и ток 260 А, а включенные последовательно — 400 В и 130 А. Напряжение с генератора подавалось на два тяговых электромотора — каждый из них через понижающую механическую передачу приводил в движение гусеницу одного борта. При трогании с места водитель одной педалью одновременно включал сопротивление первичной обмотки и управлял дроссельной заслонкой карбюратора, таким образом, регулируя и обороты двигателя, и возбуждаемый в первичной обмотке ток. Скорость вращения электромоторов задавалась потенциометрами. Особый рубильник переключал электромоторы на задний ход. Для поворота с малым радиусом двигатель соответствующего борта коротко замыкался, а гусеница подтормаживалась механическим тормозом. Электротрансмиссия позволяла плавно начинать движение, в широком диапазоне и практически бесступенчато изменять скорость хода и радиус поворота, требовала от водителя незначительных усилий, но была тяжела и ненадежна. Громоздкая трансмиссия привела к увеличению массы выше проектных 18 т. Как и «Шнейдер», танк «Сен-Шамон» требовал для управления усилий только одного человека. Первоначально планировалось иметь на танке дублирующий задний пост управления. В корме также находился второй пост управления — благо идея «бронированного челнока» с двумя постами управления стала популярной в те годы, а электротрансмиссия позволяла проще ее реализовать, но от этого пришлось отказаться.

Схема электротрансмиссии танка «Сен-Шамон».

Установка пушки Mle 1897 в танке «Сен-Шамон».

Преодоление танком «Сен-Шамон» рва с использованием передних роликов.

Ходовая часть включала на один борт три тележки — передняя несла два, остальные — по три сдвоенных опорных катка. Тележки соединялись с корпусом и друг с другом посредством шарнирных рычагов, рама корпуса опиралась на тележки через вертикальные винтовые цилиндрические пружины. В вилке передней тележки крепилось направляющее колесо с винтовым механизмом регулировки натяжения гусениц. Гусеница состояла из 36 крупных траков. Элементами трака были подушка (башмак) шириной 324 мм и два рельса. Зацепление гусеницы расположенным сзади ведущим колесом производилось за шарнир траков. Длина опорной поверхности гусеницы — 2,65 м. Из-за написания передней части над гусеницами машина часто останавливалась перед невысокими вертикальными препятствиями. Чтобы как-то компенсировать это, впереди и позади гусеничного обвода снизу корпуса установили специальные широкие ролики. Это несколько увеличило ширину перекрываемого рва (скошенная снизу носовая часть корпуса служила при этом передней опорой машины), но никак не помогали в преодолении вертикальных препятствий. На сухом прочном грунте танк переходил рвы шириной до 2,5 м, но на поле боя, особенно на размокшем грунте, редко преодолевал рвы шире 1,8 м. Поворотливость на грунте у «Сен-Шамона» была заметно хуже, чем у «Шнейдера». Перетяжеление носовой части танка приводило к частой деформации передних тележек и спаданию гусениц. В целом можно сказать, что в производство пошел заведомо непригодный танк (это было очевидно даже для начального этапа танкостроения) — увы, в истории танкостроения это был не последний случай.

Упомянутые испытания середины 1916 г. выявили многочисленные изъяны в конструкции «Сен-Шамона». Эта модель сильно уступала тому же «Шнейдеру», также не блиставшему надежностью и проходимостью. Прежде всего танкисты потребовали уширить гусеницы «Сен-Шамона» с 324 сначала до 412, а потом и до 500 мм. Масляный радиатор двигателя оказался слишком хрупким, а ненадежная система смазки приводила к частым поломкам в двигателе или выбросам дыма. Требовалось улучшить изоляцию электрических трансформаторов. Выхлопную трубу провели вдоль крыши в сторону кормы (как на британских тяжелых танках). В октябре 1917 г. уже в ходе выпуска «Сен-Шамон» опять модифицировали с целью повысить защищенность: крыша получила наклон к бортам, чтобы с нее скатывались ручные гранаты, вместо цилиндрических башенок поставили прямоугольные, было также усилено бронирование — 17-мм бронелисты, в отличие от 15-мм, не пробивались бронебойными пулями «SmK». Однако изменения крыши и башенки ухудшили обзор, к тому же пришлось дорабатывать и верхние люки для экипажа.

Первый прототип танка (или его шасси) имел номер 414, а последний «Сен-Шамон» выпущен под номером 813. Серии 400, 500, 600 имели плоскую крышу и овальные башенки (колпаки), с 700-й серии крыша стала наклонной, а башенки — квадратными. В результате многочисленных ремонтов встречались, разумеется, и «смешанные» варианты — квадратные башенки на плоской крыше, машины 700-й серии со специальной артсистемой и т. п.

В апреле 1917 г. началась поставка танков снабжения (Le Char Kesson) — варианта «Сен-Шамон» без вооружения, для подвоза грузов танковым подразделениям и вытаскивания застрявших танков — машина подвоза и тягач в одном лице, французский прототип ремонтно-эвакуационных машин.

«Сен-Шамоны» впервые вышли в бой 5 мая 1917 г. близ мельницы Лаффо — 16 «Сен-Шамонов» в этот день не смогли преодолеть окопы, остановились перед ними и были подбиты вражескими артиллеристами или вышли из строя из-за поломок. Столь же неудачными для «Сен-Шамонов» оказались и другие бои. И только 18 июля 1918 г. под Суассон, когда в бой двинулось 216 «Шнейдеров», 131 «Сен-Шамон» и 220 «Рено», танки «Сен-Шамон» проявили хоть какое-то преимущество перед другими моделями: они оказались более стойкими к ружейно-пулеметному огню и повели за собой пехоту. В последние месяцы войны, впрочем, «Сен-Шамоны» нередко оказывались весьма полезны в качестве самоходных орудий — благодаря длинноствольной 75-мм пушке они удачно боролись с германскими батареями ближнего боя.

Предложения модернизации «боевых» танков «Сен-Шамон» — такие, как установка снизу носовой части дополнительного непривычного гусеничного хода для лучшего преодоления окопов или уменьшение толщины брони для уменьшения веса и увеличения проходимости, — остались нереализованными.

Последняя серийная машина вышла с завода в марте 1918 г. Всего построено 377 танков. Выбывающие из строя танки заменялись легкими «Рено», к перемирию в строю оставалось 72 «Сен-Шамона». Из них 50 переделали в транспортеры. Так закончилась история этих машин.

Тактико-технические характеристики французских средних танков

CA-1 «Шнейдер» «Сен-Шамон» Боевая масса, т 14,6 22-23 Экипаж, человек 6-7 8-9 Высота, м 2,3 2,36 Длина, м 6,32 7,91 (с пушкой — 8,83) Ширина, м 2,05 2,67 Клиренс, м 0,4 0,41 Толщина брони, мм: лоб 11,4 17 борт 11,4 8,5 корма 11,4 8 крыша и днище 5,4 5 Вооружение: орудие 75-мм пушка 75-мм пушка T.R. или Mle 1897 пулеметы 2×8-мм «Гочкис» Mle 1914 4×8-мм «Гочкис» Mle 1914 Боекомплект: выстрелов 90 106 патронов 4000 7488 Двигатель: марка «Шнейдер» «Панар» тип карбюраторный карбюраторный число цилиндров 4 4 охлаждение жидкостное жидкостное мощность, л.с. 55 90 Запас топлива, л 160 250 Трансмиссия механическая электрическая Коробка передач трехскоростная с реверсом – Механизм поворота дифференциал изменением оборотов ходовых электромоторов Ходовая часть (на один борт) 7 сдвоенных опорных катков, 5 поддерживающих роликов; ведущее колесо заднего расположения 8 сдвоенных опорных катков, 5 поддерживающих роликов; ведущее колесо заднего расположения Подвеска блокированная, с винтовыми пружинами блокированная, с винтовыми пружинами Тип гусеницы металлическая крупнозвенчатая, с открытым шарниром металлическая крупнозвенчатая, с открытым шарниром Количество траков в цепи 34 36 Тип зацепления зубовое зубовое Ширина трака, мм 360 324, впоследствии 412 и 500 мм Максимальная скорость, км/ч 4 8 Средняя скорость, км/ч 2-4 2-3 Запас хода, км 80 60 Удельное давление, кг/см² 0,72 0,79 (при ширине трака 500 мм) Преодолеваемый подъем, град. 30-35 32 Ширина преодолеваемого рва, м 1,7–1,8 1,8–2,4 Высота стенки, м 0,3–0,4 0,3–0,4 Глубина брода, м 0,8 0,8 Толщина сваливаемого дерева, м 0,4 0,4

Французские средние танки оказались не слишком удачными. Упругая подвеска, конечно, была их преимуществом, но свесы корпуса впереди и сзади гусениц сильно снижали их проходимость, особенно это касалось «Сен-Шамонов» — они не преодолевали даже незначительные вертикальные преграды. Танк «Шнейдер» был достаточно тесен, в том числе для артиллериста и пулеметчиков. В «Сен-Шамоне» артиллеристы сидели несколько более просторно в своей рубке. И все же эти танки сыграли в 1917–1918 гг. немалую роль. «Шнейдеры» побывали в боях 473 раза, «Сен-Шамоны» — 375.

Параллельно с разработкой танка «Рено» BS с 75-мм короткоствольной пушкой — по сути, самоходной артиллерийской установки для непосредственного сопровождения пехоты — с 1917 г. разрабатывались и тяжелые САУ на шасси «Шнейдера» и «Сен-Шамона» Эти работы можно считать продолжением программы тяжелой артиллерии на тракторной тяге, принятой во Франции 30 мая 1916 г. Первый прототип САУ, построенный в начале сентября 1918 г., представлял собой 220-мм длинноствольную (220 L) гаубицу «Шнейдера», установленную на гусеничном шасси в закрытую рубку в кормовой части. При этом водитель располагался в передней части полуоткрыто — он был защищен только спереди. Всего планировалось построить 300 тяжелых САУ: на шасси «Сен-Шамона» — 130 установок 155-мм пушек G.P.F., 50 вновь разработанных 194-мм пушек G.P.F., 75 короткоствольных 220-мм гаубиц T.R., 25 280-мм гаубиц T.R. «Шнейдер» модели 14/16; на шасси «Шнейдера» — 20 длинноствольных 220-мм гаубиц «Шнейдера» 220 L Mle 1917 S.

Опытная САУ на шасси «Сен-Шомона» с открытой установкой 194-мм пушки G.P.F., начало 1919 г. В том же 1919 г. испытали открытую установку на шасси «Сен-Шамона» 280-мм гаубицы, 220 мм длинной гаубицы, а на шасси легкого танка «Рено» FT — легкой 105-мм гаубицы.

Строительство установок началось в октябре 1918 г. — они предназначались для участия в «большом наступлением 1919 г. Хотя уже в ноябре состоялось перемирие, в начале 1919 г. все же собрали 280-мм гаубицу T.R., специально модифицированную для установки на шасси «Сен-Шамона», 220-мм гаубицу T.R., 194-мм пушку G.P.F. Орудие устанавливалось открыто в задней части платформы, при этом использовался принцип «двойного отката» — артиллерийская часть имела свои противооткатные устройства, но дополнительно скользила на тележке по наклонной рампе, установленной на платформе, а после того как действие отдачи гасилось, возвращалось по рампе в исходное положение. Это позволяло установке выдерживать достаточно сильную отдачу. Вынужденное удлинение платформы использовали для установки откидных опор, передававших часть энергии отдачи на грунт. Имелись кран и кокор-тележка для подачи снарядов с грунта.

Уже готовилось формирование нескольких дивизионов самоходных 280-мм гаубиц (масса установки — 28 т, дальность стрельбы — до 10,9 км) и 194-мм пушек (15,6 т, до 18,3 км), но эти планы так и не реализовали. В тяжелой артиллерии предпочли тракторную тягу, жестко привязывать орудие к самоходному шасси считалось опасным и нерентабельным.

Легкий танк «Рено» FT

Рождение танка «Рено» FT

Планы Этьена были шире, чем у военного руководства. Танки «Шнейдер» и «Сен-Шамон» ни по своим возможностям, ни по назначению, полковника уже не удовлетворяли. А планируя взаимодействие различных— типов танков, он пришел к выводу, что средние французские танки как артиллерию сопровождения и тем более тяжелые британские, которым отводилась роль «пехотного тарана», необходимо дополнить многочисленными легкими боевыми машинами для непосредственного сопровождения пехоты и действия в ее боевых порядках. По сути, это было техническим развитием уже применявшегося тактического приема. К тому времени французская армия отработала тактику «подвижного пехотного огня» — во время атаки непосредственно в цепях пехоты двигались расчеты ручных пулеметов, принимающие огнем противника к земле и подавляющие его огневые точки, уменьшая потери атакующих от пулеметов и минометов противника. Роль «бронированного застрельщика» и должен был принять на себя легкий танк.

Помимо тактических идея легкого танка имела и немаловажные производственно-экономические и эксплуатационные обоснования. Затянувшаяся разработка первых средних танков показала, с каким трудом французская промышленность в условиях войны и потери ряда промышленных и сырьевых центров изыскивает материалы, мощности и рабочую силу для выполнения таких заказов, а машина грозила оказаться сложной в эксплуатации и транспортировке. Двигателей большой мощности также было мало. Ситуация с личным составом была еще неясна — ресурс живой силы пожирало сражение под Верденом. Принятие легких машин с упрощенной конструкцией, автомобильным двигателем и небольшой численностью экипажа обещало решение этих проблем и массовый выпуск нового боевого средства.

И в июле 1916 г. в отеле «Клариж» состоялась встреча Этьена с известным конструктором и промышленником Луи или Людовиком Рено (Louis Renault). Фирма «Рено», основанная в 1898 г. под названием «Братья Рено» (Renault Freres), успела стать одной из ведущих в авто— и моторостроении с филиалами за рубежом, а сам Луи Рено зарекомендовал себя как отличный конструктор. После истории «Марнского такси» 6–8 сентября 1914 г., когда 600 парижских такси «Рено» AG 1910 перебросили к линии фронта у р. Марна более 5 тыс. солдат одной пехотной бригады и тем помогли «спасти Париж» от германского наступления, Рено стал почти национальным героем и сотрудничал с военным ведомством весьма успешно.

Это была не первая встреча артиллериста и конструктора, которым суждено будет сыграть выдающуюся роль в истории танкостроения. Еще в декабре 1915 г. Этьен обращался к Рено за помощью в разработке задуманного им «наземного броненосца». Но тогда Рено отказался, тем более что спешная моторизация французских тылов и необходимость производства артиллерийских снарядов давали фирме много работы. За создание первого французского танка взялся его давний конкурент, главный конструктор «Шнейдер-Ле Крезо» Э. Брийе. Теперь Этьен убеждал Рено взяться за проектирование легкого танка. Работы над танками уже шли на официальном уровне, Этьен обещал первый заказ на 150 машин, и практичный Рено принялся за работу над «бронированным футляром для мотора и двух человек». Первый деревянный макет «пулеметной машины» (char mitrailleur) Рено подготовил уже к октябрю 1916 г. Взяв за прототип разрабатывавшийся «Шнейдер-Ле Крезо» средний танк CA-2, фирма «Рено» рассчитывала построить танк проектной массой до 6 т с упругой подвеской ходовой части, вооружение ограничивалось пулеметом, максимальная скорость достигала 9,6 км/ч.

Луи Рено перед деревянным макетом легкого танка FT. Декабрь 1916 г.

Этьен был доволен проектом, но убедить начальника автомобильной службы генерала Муре, от которого зависела выдача Рено заказа, не удалось. Рено и Этьен, уже ставший к тому времени бригадным генералом и командующим «штурмовой артиллерией», обратились к главнокомандующему маршалу Жоффру с предложением о постройке танков массой около 4 т в количестве до 1000 штук. В письме главнокомандующему от 27 ноября 1916 г. Этьен изложил основные особенности проектируемого танка: «Я считаю возможным построить очень легкий танк… Благодаря своей относительной мощности и расположению гусениц на колесах довольно большого диаметра, выдающихся вперед за шасси, пулеметный танк сможет проходить по очень тяжелой почве». После раскрытия секрета танков британцами на Сомме главным их противником стала артиллерия, и небольшие, применяющиеся к местности машины, действующие в большем количестве, имели больше шансов на успех и выживание на поле боя, чем средние или тяжелые. К достоинствам танка относилась и возможность быстрой переброски по обычным дорогам на тяжелых 7-тонных грузовиках (как уже перевозилась артиллерия) — даже небольшой британский опыт боевого применения танков уже вывел проблему их оперативной подвижности в число основных.

К ноябрю 1916 г. вопросами снабжения армии танками уже ведало Министерство вооружения и снабжения, где развил бурную деятельность депутат Альбер Тома, уже видевший себя создателем «штурмовой артиллерии». Жоффр, согласившись с доводами Этьена и необходимостью заказа 1000 машин, уже 30 ноября 1916 г. направил Тома соответствующее письмо, но тот ответил только 12 декабря, сопроводив свое согласие целым рядом оговорок. В результате требования были сформулированы в марте 1917 г. В полезности новой разработки приходилось убеждать все инстанции — и министерство, и вице-секретариат артиллерии, и Консультативный комитет.

Конструкторы Рено и Серре продолжали работать над проектом, не дожидаясь одобрения. 30 декабря 1916 г. Рено сам представил доработанный полномасштабный деревянный макет танка Консультативному комитету. Новинка не понравилась как раз тем, что ее создатели считали главными достоинствами. Возражения генерала Муре включали, например, слишком большое смещение назад центра тяжести и небольшой вес танка — ведь это снижало его способность «затаптывать препятствия» (ударное действие еще многие годы не без основания указывали среди главных характеристик танков). Другой член комитета указал на плохую вентиляцию (эта проблема первых танков была уже хорошо знакома). Один армейский офицер назвал танк «изящной игрушкой», не более. Менее чем за год до этого лорд Китченер так же обозвал «Большой Вилли», но танк Рено, надо сказать, действительно оказался первым с элегантным дизайном. Пулеметное вооружение сочли недостаточным, критиковали малые размеры, из-за которых танк якобы не сможет переходить через рвы и окопы. Однако семью голосами против трех комитет поддержал проект и согласился на заказ первой партии в 100 машин.

Прототип танка «Рено» FT с литой башней со сферическим «куполом» плитой верхней лобовой деталью корпуса. Бийанкур, весна 1917 г.

Первый прототип пулеметного танка был готов в конце января 1917 г. и прошел испытания на заводе Рено в Бийанкуре (предместье Парижа, департамент Сены) Этьен, понимая, что бюрократические проволочки и «политические обстоятельства» могут легко погубить проект, торопился испытать прототип в Шамплиэ, где с декабря 1916 г. действовал учебный лагерь «штурмовой артиллерии», дабы успеть исправить его недочеты до официальных испытаний в апреле. Опасения Этьена были обоснованны. Замена 26 декабря Жоффра на посту главнокомандующего генералом Нивелем лишила Этьена высокой поддержки. Нивель, сам вышедший из артиллерийских офицеров, был приверженцем «классических» ее форм и считал более важным заказ тракторов для тяжелой артиллерии. Действительно, быстрое развитие французской тяжелой артиллерии требовало больше механических тягачей, а легкий танк мало отвечал новой концепции французского командования: «Артиллерия захватывает, пехота занимает». Против легкого танка продолжал выступать и генерал Муре.

А. Тома, ставший министром вооружения, разделял взгляд Нивеля и, опасаясь перерасхода средств и отвлечения промышленных мощностей, сообщил Рено, что приоритет отдается заказу тягачей, а не танков. Тем не менее Этьену и Рено удалось убедить членов Консультативного комитета не только не отказываться от заказа, но и увеличить его — 22 февраля заказ фирме увеличили до 150 машин.

Испытания 9 апреля завершились успехом, и Комитет, учтя мнение вице-секретариата изобретений, 10 апреля поддержал план Этьена о заказе 1000 машин, а уже 13 апреля приоритет танкам отдал и Нивель. В мае общий заказ на 1150 танков утвердили. Официальные испытания легкого танка «Рено» прошли в Марли 21–22 апреля 1917 г. Танк показал явное превосходство над моделями «Шнейдер» и «Сен-Шамон».

Но уже неделю спустя министр вооружений и снабжения Тома на основании доклада командира учебного центра Марли (где в это время проходили начальное обучение и сколачивание первые подразделения средних танков) снова попытался притормозить выдачу заказа. Среди приводимых им замечаний — необходимость увеличить внутренний объем, разместить в башне вместе с пулеметчиком и его помощника, увеличить возимый боекомплект до 10 000 патронов. При этом не учитывалось, что роли помощника пулеметчика и подносчика боеприпасов будет играть сам танк. На самом деле одноместная башня имела другой недостаток, выявившийся много позже, одному человеку приходилось решать задачи наблюдения, выбора целей и наведения оружия.

Неудача применения танков «Шнейдер» и «Сен-Шамон» у Берри-о-Бак в ходе наступления на Шмен-да-Дам 16 апреля 1917 г. породила новые сомнения командования, Этьен же убедился в необходимости массированного применения танков. И когда Тома отправился с миссией в Россию (дабы убедить пришедшее к власти Временное правительство воевать «активнее» во имя интересов Франции), Этьен провел еще несколько испытаний-демонстраций специально для офицеров «штурмовой артиллерии». Эти испытания убедили даже генерала Муре.

Фронтовые офицеры требовали придать частям танки в большом количестве, менять проект было поздно, да и главнокомандующий Нивель склонился в пользу заказа в первую очередь легких боевых машин. Этьен предложил 500 танков из 1150 заказанных вооружить 8-мм пулеметом, а 650 — 37-мм пушкой без существенной переделки башни. Введение легких короткоствольных 37-мм пушек в боевые порядки пехоты также вошло в практику, а легкий танк выглядел для них отличным носителем. Затем Этьен предложил увеличить заказ до 2500 танков, включив в него так называемые «радиотанки» в качестве командирских и машин связи между танками, пехотой и артиллерией. По мнению Этьена, «радиотанком» должен был быть каждый десятый «Рено».

Пулеметный легкий танк «Рено» FT-17 с литой башней из первой серии.

1 мая после полного провала наступления 1917 г. и серии мятежей в армии Нивеля сменил генерал Петен, воспринявший идею танков лучше, хотя и не слишком доверявший энтузиазму Этьена и его единомышленников. 20 июня Петен увеличил заказ с 1150 до 3500 легких танков, причем потребовал их поставки к марту 1918 г. и расширил заказ на средние танки. Заметим, что параллельно проект легкого танка разрабатывала фирма «Пежо» (с установкой одновременно 37-мм пушки и пулемета в неподвижной рубке, а двигателя в передней части корпуса).

Легкий танк получил официальное название «Char leger Renault FT modele 1917», сокращенное до «Рено» FT-17. Индекс FT дала сама фирма, о его расшифровке в литературе существует ряд версий — например fabile tonnage («легкий вес»), franchisseur de tranchees («преодолевающий траншеи»). Но дело обстоит проще. «Рено», выполнявшая различные заказы военного ведомства, использовала двухбуквенные индексы для обозначения групп продукции: AG — легковые автомобили, EG — артиллерийские тягачи, FU — тяжелые грузовики и т. п. В этом ряду FY выглядит вполне логично.

Поставки танков «Рено» FT

Программа реорганизации «штурмовой артиллерии», представленная ее командующим генералом Этьеном 12 июня 1917 г., включала формирование 36 рот легких танков и одну группу-депо для них. Предполагалось, что завод фирмы «Рено» в Бийанкуре сможет выпустить к сентябрю 750 танков; однако эта программа сразу была сорвана по ряду производственных причин, одной из которых стала нехватка брони. Броневые листы пришлось заказать в Англии, так как французские заводы смогли начать производство брони для нового танка только с октября 1917 г. «Рено», по расчетам, могла поставить 700 танков только к маю 1918 г. Но Главное командование планировало иметь готовые роты легких танков для весеннего наступления и в конце июля 1917 г. просило министра вооружения принять срочные меры по скорейшему обеспечению их производства. Рено не мог выполнить таких заказов в одиночку и в конце концов согласился отказаться от исключительного права на ряд патентов, содержавшихся в конструкции, дабы министерство могло передать исполнение части заказа другим фирмам. После замены 12 сентября А. Тома на посту министра вооружения Л. Лушером министерство активнее включилось в реализацию заказа на легкие танки и приняло решение привлечь другие фирмы. В результате заказ на 3530 танков распределился так: «Рено» — 1850 (всех модификаций), «Берлие» (Berliet)— 800, «Шнейдер» (точнее, принадлежавший Шнейдеру завод SOMUA) — 600, «Делоне-Бельвиль» (Delaunay-Bellville) — 280. «Рено» и «Шнейдер» делали танки целиком у себя, «Берлие» и «Делоне-Бельвиль» получали бронелисты и ряд комплектующих с других заводов. «Рено» смогла выпустить первые машины только в сентябре 1917 г. Одну из них сразу отправили в уже вступившие в войну США — еще летом США согласились построить 1200 «Рено» для французской армии и такое же количество для армии США с заменой французского двигателя на американский, литой башни клепаной, пересчетом метрических размеров в дюймовые. Всего до конца 1917 г. фирма «Рено» смогла построить только 84 танка.

Тогда же, в сентябре, командующий «штурмовой артиллерией» определил главным парком легких танков лагерь в Шамплиэ. На конец ноября в лагере Шамплиэ, превратившемся в главную базу «штурмовой артиллерии», имелось только 29 предсерийных пулеметных «Рено» с железным корпусом для обучения экипажей, к концу года — 83, в феврале 1918 г. — 108 танков «Рено» без вооружения — все считались учебными. К началу апреля было построено 453 танка, из которых боеготовых было 43, 122 не имели вооружения, а 248 находились в Шале-Медон в ожидании приемных испытаний.

1 декабря 1917 г. заказ увеличили до 3100 танков FT с башней типа «омнибус» (1950 пушечных и 1150 пулеметных), 700 танков BS с 75-мм орудием и 200 радиотанков TSF. В январе 1918 г. снабжение «штурмовой артиллерии» перешло в ведение военного министерства, была создана особая вице-дирекция «штурмовой артиллерии», позволившая централизовать решение ряда вопросов. 17 февраля 1918 г. военный министр увеличил заказ до 4000 машин и распорядился о производстве во Франции 1000 пулеметных, 1830 пушечных танков «Рено», 200 «радиотанков», 600 с 75-мм пушкой и еще 370 для других целей. Впоследствии заказ увеличивали еще несколько раз, и к октябрю 1918 года он достиг 7820 танков в одной Франции

Боевые танки «Рено» начала подавать в армию только в марте 1918 г. (да и из них вооружены были только пулеметные), остальные французские фирмы — только в середине того же года. С целью ускорить подачу танков в войска министр вооружения распорядился отправлять их с заводов непосредственно в лагерь Шамплиэ, где сформировали отдел парка центра снабжения автомобильной службы. Это оказалось нелишним, поскольку многие танки пришлось пересматривать и доводить уже в Шамплиэ. Так, срочно доставленные на грузовиках в ночь с 23 на 24 марта тридцать 37-мм пушек с установками были поставлены в танки силами отдела.

В связи с началом германского наступления в марте вице-директор «штурмовой артиллерии» 4 апреля просил министра вооружений и снабжения максимально ускорить оснащение легкими танками девяти сформированных и девяти формирующихся рот. Однако и к 1 мая из 216 сданных танков боеспособными были только 60.

Соотношение общих цифр выпуска танков и заказа видно из таблицы на октябрь 1918 г.:

Фирма Выпуск Заказ «Рено» 1850 3940 «Берлье» 800 1995 SOMUA («Шнейдер») 800 1135 «Делоне-Бельвиль» 280 750

Всего к моменту перемирия 11 ноября 1918 г. было построено 3177 танков «Рено» FT, из них 1950 (61,4 %) — самой фирмой «Рено». Радиотанков «Рено» TSF изготовили всего 188. После войны «Рено» собрала еще 570 танков, так что общий выпуск танка во Франции превысил 3800 штук всех модификаций.

Несколько «Рено» FT французы на завершающем этапе войны передали англичанам (как бы в порядке обмена на тяжелые Mk V* — ведь сами французы до конца войны не приняли своего тяжелого танка), которые использовали их в качестве машин управления. Несмотря на большие задержки с выполнением заказов, «Рено» FT стал не только лучшим конструктивно и «идеологически», но и самым массовым и самым повоевавшим танком Первой мировой войны.

Устройство «Рено» FT

«Рено» FT-17 имел четыре варианта: пулеметный (Char Mitrailler 8 mm), пушечный (Char Canon 37 mm), командирский, или «радиотанк» (Char signal TSF), и танк огневой поддержки (Char Canon 75 mm BS) с 75-мм гаубицей «Шнейдер».

Пушечный легкий танк «Рено» FT преодолевает ров Хорошо видны крепление «хвоста» танка и приподнятая крыша моторно-трансмиссионного отделения.

Схема компоновки «Рено» FT с задним расположением моторно-трансмиссионного отделения (МТО) и ведущих колес, передним отделения управления и средним боевого отделения с установкой вооружения в башне кругового вращения до сих пор остается классической. Рено не первый поставил башню на бронемашины — вращающуюся башню с пулеметом имел еще бронеавтомобиль C.G.V. 1906 г., а к 1917 г. башни с пулеметным, пушечным или смешанным вооружением уже широко применялись на бронеавтомобилях, да и британцы пытались поставить башню на прототип своего танка еще в 1915 г. Но Рено стал первым, кому удалось создать действующий танк с башней кругового вращения Реализованная в танке «Рено» схема компоновки обеспечивала водителю (механику-водителю) лучший обзор, вооружению — круговой обстрел, всему экипажу — лучшие условия обитаемости, изолированно от нагретого двигателя, гарантировала от заволакивания поля обзора дымом из выхлопной трубы, уменьшала опасность для экипажа при возникновении пожара в моторно-трансмиссионное отделении, давала лучшее распределение веса по длине танка с точки зрения проходимости. В то же время двигатель и ведущие колеса оказывались лучше защищены от вывода из строя огнем противника.

Продольные разрезы (в вертикальной и горизонтальной плоскостях) легкого танка «Рено» FT 17 (вариант Char Mitrailler 8 mm):

1 — гусеница, 2 — педали, 3 — рычаги переключения скоростей, 4 — рычаг поворота, 5 — пулемет, 6 — башня (литая), 7 — съемная пусковая рукоятка, 8 — топливные бак, 9 — бортовой фрикцион, 10 — вентилятор, 11 — маховик, 12 — радиатор, 13 — двигатель, 14 — упорный подшипник коленчатого вала двигателя, 15 — откидной хвост, 16 — опорный каток.

Водитель сидел в передней части корпуса по оси машины на установленном на днище откидном сиденье. Стрелок (он же командир машины) располагался в башне стоя или полусидя в брезентовой петле, позже установили небольшое регулируемое по высоте сиденье. Для входа и выхода экипажа служил лобовой люк с трехстворчатой крышкой, а в задней части башни слева выполнили аварийный люк-лаз с двустворчатой крышкой. Все крышки люков крепились на внешних петлях. Верхняя створка лобового люка со смотровой щелью на марше откидывалась вверх, образуя окно водителя. В бою водитель вел наблюдение через три открытые смотровые щели в верхней створке и в скулах корпуса. Обитаемый объем отгораживался от МТО стальной перегородкой с двумя зарешеченными окошками для циркуляции воздуха — окошки снабжались откидными заслонками для защиты экипажа в случае пожара двигателя.

Корпус «Рено» FT был несущим элементом и представлял собой каркас из уголков и фасонных деталей, к которым на заклепках крепились детали бронирования и ходовой части — несущий корпус также стал «классикой» танкостроения. Прототип танка имел литую лобовую часть корпуса, но сложность с получением броневых отливок нужного профиля и с нужной точностью заставила сделать корпус полностью клепанным из прямых листов катаной брони. Толщина вертикальных листов корпуса составляла 16 мм, наклонных листов — 8 мм, крыши и днища — 6 мм. Бронестойкость корпуса увеличивали конструктивные углы установки бронелистов.

Далеко не сразу удалось решить вопрос с типом башни. Прототип «Рено» FT имел литую башню со сферическим наблюдательным «куполом», выполненным заодно с крышей башни. «Купол» уже в первых серийных танках пришлось заменить цилиндрическим колпаком с пятью смотровыми щелями и грибовидной откидывающейся крышкой. Кроме упрощения изготовления, это еще и улучшило вентиляцию. Смотровые щели выполнялись также в створках башенного люка, а в клепаных башнях — и в передних скулах, хотя здесь от них было больше вреда, чем пользы. Пришлось далее упрощать и саму башню. «Рено» по собственной инициативе оснастила первые 100 машин восьмигранной клепаной башней. Испытания показали ее полную пригодность, причем оказалось, что пушку и пулемет можно устанавливать в одинаковые башни с соответствующими изменениями установки. Правда, разработка установки пушки потребовала немало времени, и пушечный «Рено» прошел испытания 10–17 июля 1917 г. «Универсальная» башня, приспособленная для установки пушки или пулемета, пошла в серию и получила название «омнибус» (omnibus по-латыни — «для всех»). Башня диаметром 1,07 м устанавливалась на шаровой погон, для ее опоры на бортах корпуса приклепывались короткие скобы.

Установка 37-мм пушки «Гочкис» («Пюто») в башне «Рено» FT-17 (Char Canon 37 mm).

Третий и последний вариант башни имел все же коническую форму, которую Рено предполагал изначально, надеясь на ее лучшую бронестойкость. Теоретически это было так, но качество катаной плоской брони было тогда выше, чем литой или кованой, так что восьмигранная башня демонстрировала лучшую стойкость против бронебойных пуль, чем коническая. Эта башня изготавливалась фирмой «Южин» (Acieries Paul Girod, Ugine) клепкой из литых и кованых деталей. Производство ее установили уже в 1918 г. Ее ставили в основном на танки производства самой «Рено», но «Южин» поставляла такие башни и другим производителям. Танки с литыми коническими башнями появились в 1918 г., из-за чего их иногда именуют FT-18, хотя в остальном это были все те же FT-17 (далее, во избежание путаницы, будет использоваться обозначение «Рено» FT). Толщина броневых листов клепаной башни составляла 16 мм, литая башня имела толщину брони до 22 мм. В целом «Рено» FT давал экипажу неплохую по тем временам защиту.

37-мм танковая пушка SA18 «Гочкис» («Пюто»), как и 37-мм пехотная Mle 1916 T.R., была выполнена на основе старой морской. Танковая пушка имела длину ствола 21 калибр, нарезной части — 15 калибров, полуавтоматический вертикальный клиновый затвор, пружинные противооткатные устройства, литой кожух люльки, пистолетную рукоятку управления, телескопический прицел. Для установки в башню пушка крепилась в полусферическом щите, который своими горизонтальными цапфами опирался в гнезда поворотного вертикального щита. Такая «цилиндрическая» установка допускала диапазон углов наведения в вертикальной плоскости от -20 до +35°. Стрельба из пушки велась унитарными выстрелами с чугунной (435 г) или стальной (560 г) осколочной гранатой, снаряженной мелинитом, либо бронебойным снарядом (510 г). Начальные скорости снарядов — соответственно 402, 367 и 390 м/с. Дальность стрельбы — до 2400 м, однако видимость из танка позволяла стрелять не далее 800 м. Бронебойный снаряд мог пробивать 12-мм броню на дальности до 500 м. Для самообороны вблизи танка служил картечный выстрел, действительный на дальности до 75—100 м. Боевая скорострельность — до 10 выстр./мин. Трубка оптического прицела защищалась стальным кожухом. Стрелок с помощью наплечников усилием плеч и спины поворачивал башню, производя грубую наводку, после чего с помощью плечевого упора пушки поворачивал ее на цель. Аналогично производилась наводка и в пулеметном варианте танка, углы наведения пулемета в вертикальной плоскости составляли от -20 до +35°.

Органы управления танка «Рено» FT:

1, 2 — защелка стопора тормозной педали, 3, 7 — трос стопора, 5 — левый рулевой рычаг, 6, 58 — тормозная педаль, 8 — правый рулевой рычаг, 10 — педаль акселератора, 11 — тяга, 12 — поводок, 15 — рычаг поворота, 17 — рычаг, 19 — рычаг сцепления, 20 — подшипник, 21 — вертикальная ось, 22, 23 — рычат, 25, 26 — конус сцепления, 27 — нажимная шайба, 28 — тормозной барабан, 29 — коробка, 30, 31 — тормозная лента, 36 — шарнир, 37 — тормозная тяга, 38 — ось рычага, 39 — ферродо, 41, 42, 43 — тяги, 49 — трос управления акселератором.

В отличие от британцев, выбравших в конце концов танковый пулемет на основе ручного «Гочкис» Mle 1909, французы ставили в пулеметные «Рено» FT-17/18 тело своего «длинного» 8-мм станкового пулемета «Гочкис» Mle 1914, использовавшегося в пехоте. Размеры пулемета затрудняли действия стрелка в башне, а установка коробки с лентой составила большую проблему. Изготовлено 2100 пулеметных танков.

Боекомплект выстрелов к пушке (20 осколочных, 25 бронебойных и 12 картечных) или патронов (4800 патронов — 50 лент по 98 патронов) размещался на днище и на стенках боевого отделения.

Четырехцилиндровый рядный карбюраторный двигатель «Рено» (Renault 18CV) устанавливался по оси машины, имел диаметр цилиндров 95 мм, ход поршня 160 мм, карбюратор типа «Зенит», зажигание от магнето, регулятор числа оборотов, запускался заводной ручкой изнутри или снаружи (с кормы) машины. При 800 об/мин двигатель развивал мощность 20 л.с., при 1000 оборотах — 27 л.с., при 1500 — 39 л.с. Топливный бак размещался впереди двигателя у перегородки. Подача бензина производилась насосом с мембраной или пульсатором, а на больших уклонах потреблялся бензин из дополнительного бачка. Жидкостное охлаждение выполнялось по термосифонной схеме, трубчатый радиатор обдувался вентилятором, обеспечивавшим также вентиляцию обитаемого объема. На прототипе имелись бортовые жалюзи в задней части корпуса охлаждения, но серийные танки их утратили. Воздух засасывался через продольную щель в крыше моторно-трансмиссионного отделения, прикрытую приподнятой бронекрышей. Выхлопная труба с глушителем выводилась с правого борта. Бронекрыша и верхние наклонные листы откидывали на петлях в перед, так что доступ к двигателю был достаточно удобен. Запас топлива допускал время движения танка 8 часов, доливать же воду в радиатор приходилось значительно чаще.

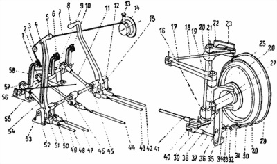
Узлы ходовой части танка «Рено» FT:

1 — поддерживающий ролик, 2 — пружина буфера, 3 — направляющее колесо, 4 — вилка натяжного устройства, 5 — гайка натяжного устройства, 6 — винт натяжного устройство, 7 — передний балансир, 8 — серьга рессоры, 9 — задний балансир, 10 — рессора, 11 — тележка, 12 — опорный каток, 13 — ведущее колесо, 14 — ось ведущего колеса.

Сгнившие от времени деревянные части направляющего колеса танка «Рено» FT.

Вращающий момент двигателя через коническое сцепление передавался на механическую коробку передач с надвижными шестернями, дававшую четыре скорости вперед и одну назад: I скорость и скорость задним ходом — 1–1,52 км/ч, II скорость — 2,05-3,1 км/ч, III — 3,36-5,04 км/ч, IV — 5,2–7,8 км/ч. Механизмами поворота служили конические бортовые фрикционы (что также оказалось довольно удачным выбором), управлявшиеся через коленчатый и качающийся рычаги. Управление осуществлялось отключением соответствующей гусеницы и ее торможением с помощью ленточного тормоза. Стальная лента тормоза покрывалась ферродо или кожей. «Рено» был наиболее «поворотливым» среди танков союзников, «умея» разворачиваться на месте вокруг вертикальной оси. Водитель пользовался двумя рычагами поворота, рычагом управления коробки передач, педалями газа, сцепления и ножного тормоза, рукоятками акселератора и тормоза.

Ходовая часть с блокированной пружинной подвеской включала на один борт 4 тележки — одна с тремя, остальные с двумя опорными катками. Опорные катки — малого диаметра, сдвоенные, с внутренними ребордами. Тележки попарно соединялись шарниром с балансиром, который сам шарнирно подвешивался к полуэллиптической листовой рессоре. Концы рессоры подвешивались к продольной двутавровой балке, крепившейся на борту корпуса. Из-за малого динамического хода катков и отсутствия амортизаторов такую подвеску иногда называют «полужесткой». Верхняя ветвь гусеницы лежала на шести сдвоенных поддерживающих роликах, собранных в длинной обойме, задний конец которой крепился на шарнире, а передний подрессоривался винтовой пружиной, — так должно было автоматически обеспечиваться постоянство натяжения гусеницы. Одинарное ведущее колесо заднего расположения захватывало гусеницу за шарнир траков. Одинарное направляющее колесо крепилось на передней части продольной балки в вилке с винтовым механизмом регулировки натяжения гусеничной цепи. На многих машинах для уменьшения шума и веса, а также удешевления направляющее колесо изготавливалось из дерева со стальным каркасом и ободом — единственный случай в истории танкостроения (такой вариант «Рено» FT-18 стоит в Военно-историческом музее бронетанкового вооружения и техники в подмосковной Кубинке). В литом траке гусеницы выделялась подушка (башмак) шириной 324 мм с грунтозацепом и два рельса. Траки соединялись пальцами, фиксировавшимися шайбами и втулками с чеками. Шарнир трака изнутри прикрывался отгибом подушки. Ширина колеи гусеничного хода — 1,4 м.

Для преодоления рвов танк оборудовали съемным «хвостом». «Хвост» крепился на корме двумя стальными осями с засовами, на марше поворачивался вокруг верхней оси и забрасывался на крышу моторно-трансмиссионного отделения, но мог оставаться и в «боевом» положении — в этом случае на «хвост» крепили полезный груз (обычно-личные укладки экипажа), иногда даже сажали кого-либо из технических подразделений или пехотинцев. При преодолении широкого рва «хвост» упирался в его передний скат, пока центр тяжести танка не достигал противоположного края. Длина танка с «хвостом» достигала 4,96 м. Впоследствии под влиянием «Рено» FT подобными «хвостами» оборудовали многие сравнительно тихоходные танки сопровождения пехоты. Низкое удельное давление на грунт, не превышавшее 0,6 кг/см², обеспечивало хорошую проходимость, танк преодолевал короткие подъемы до 45° и 1,8-метровые рвы, а вынесение оси направляющего колеса вперед-вверх и его большой диаметр способствовали преодолению вертикальных препятствий, позволяли танку выбираться из больших воронок. Спереди и сзади на корпусе танка имелись буксирные крюки, в комплект танка включали трос и буксирные цепи, которые обычно подвешивали вдоль «хвоста» танка. На бортах МТО крепили коробки с ЗИП. Большое значение придавалось «таранному» действию танков: вопреки первоначальному скепсису, «Рено» опрокидывал дерево или деревянный столб диаметром до 250 мм, железный столб диаметром 50 мм. «Затаптывание» проволочных заборов «Рено» FT производили обычно попарно, двигаясь в 50—100 м друг от друга, чтобы надежно повалить колья.

Преодоление танком «Рено» FT широкого рва с опорой на хвост.

Проекции легкого танка «Рено» FT-17 в пушечном варианте (Char Canon 37 mm) с литой башней.

К недостаткам «Рено» можно отнести высокое расположение центра тяжести — танк легко опрокидывался при боковом крене, на резких поворотах и даже на небольших контрэскарпах. Однако при меньших размерах «Рено» имел лучшую проходимость, чем средние французские танки, перекрывал одинаковые с ними рвы, на вертикальные препятствия взбирался лучше, а его более легкое вооружение обеспечивало большую эффективность за счет вращающейся башни. Надежность вновь созданного и спешно запущенного в производство танка тоже не могла быть высокой. Даже не получая боевых повреждений и не застревая на препятствиях, «Рено» выходил из строя после нескольких дней активных действий. Частые выходы из строя ремней вентиляторов (в одной из американских танковых рот ремни вентиляторов не выдерживали и одного дня боев) вызывались как качеством самих ремней, так и неопытностью водителей. Обычно ремни летели при слишком быстром увеличении оборотов двигателя или после холодного старта. К тому же ремни быстро растягивались и начинали перекашиваться и слетать. Выход из строя вентилятора приводил к быстрому перегреву двигателя, разгару цилиндров и выходу из строя поршней.

В то же время небольшие размеры делали «Рено» намного эффективнее средних и тяжелых танков на пересеченной и лесистой местности. Кроме того, «Рено» оказался сравнительно простым и дешевым в производстве. В результате он стал основой машины французских танковых сил и наилучшим образом продемонстрировал перспективность танков.

Проекции легкого танка «Рено» FT-17 в пулеметном варианте (Char Mitrailler 8 mm) с клепаной башней.

Проекции «радиотанка» FT-17 (Char TSF), мачта убрана, антенна не натянута.

Однако малые скорость и запас хода требовали специального транспорта для переброски танков к передовой по обычным дорогам. Первоначально для этого планировали использовать 7-тонные грузовые автомобили (их специально заказали в 1917 г.), но уже в июле 1918 г. танки успешно перебрасывались в боеготовом состоянии стандартными двухосными 5-тонными грузовиками «Пирс-Эрроу» с усиленными рамой и кузовом — перегруз автомобиль выдерживал вполне сносно Погрузку и выгрузку танк мог производить своим ходом по приставной деревянной аппарели.

Готовую модель «радиотанка» Рено смог представить только 10 декабря 1917 г. «Рено» TSF (расшифровывается как Telegraphie Sans Fit — «беспроволочный телеграф») имел неподвижную прямоугольную рубку, в которой размещались коротковолновая радиостанция ER10 «Эроте» (Eroter) и три члена экипажа — водитель, наблюдатель и радист. Проволочная антенна натягивалась между выдвижной мачтой на рубке и рамкой на конце «хвоста». Дальность радиосвязи достигала 80 км. Масса «радиотанка» — 7 т, толщина брони — 16—8 мм, высота — 2,5 м (без учета мачты), скорость и запас хода одинаковы с базовой машиной. В каждой танковой бригаде «радиотанки» находились в ведении специального офицера службы связи и использовались в интересах как танковых подразделений, так и пехотных дивизий, с которыми они взаимодействовали. Войска не слишком любили эти машины за ненадежность радиостанции, быстро терявшей настройку или выходившей из строя после тряски в движущейся машине, а также необходимости сворачивания и разворачивания высокой и ломкой антенны. К концу войны только три полка получили машины TSF. Изготовлено 188 единиц. Поэтому в качестве командирских использовались и обычные «Рено» FT, с которых иногда снимали вооружение, оставляя амбразуру башни открытой — получался подвижный наблюдательный пункт.

«Радиотанк» TSF с поднятой мачтой и готовой к установке антенной.

Танк «Рено» FT с клепаной башней типа «омнибус» в пулеметном варианте на марше. Створки люка водителя (механика-водителя) открыты. Танк покрыт трехцветной камуфляжной окраской с черными разделительными линиями Осень 1918 г.

Задание на «Рено» BS Этьен сформулировал еще в июле 1917 г. В это время остро стоял вопрос о придании пехоте батарей орудий сопровождения, и легкое 75-мм орудие на гусеничном шасси с бронезащитой казалось удачным решением. Этьен предлагал безбашенную схему с установкой орудия в корпусе. Но в результате 75-мм гаубицу «Шнейдер» (Schneider тип S) установили в увеличенной невращающейся восьмигранной пирамидальной рубке с кормовой нишей (дабы было место для отката ствола гаубицы с казенником), большим люком в борту и откидной крышей. В качестве танков поддержки «Рено» BS оборудовались креплением для сборного 4-метрового моста типа «Орли» на лобовой части — танк должен был укладывать этот мост на широкий ров, обеспечивая преодоление его линейными танками «Рено». Планировалось иметь один танк BS на пять линейных танков (т. е. каждый танковый взвод). Но повоевать «Рено» BS не пришлось, мало того — до конца войны ни одного из 600 заказанных BS не построили, а уже после войны собрали всего 39 штук. Видимо, об этом проекте говорил Фуллер, познакомившийся с Этьеном в конце 1917 г., когда с обычной своей едкостью писал о создателе французской «штурмовой артиллерии»: «Маленький и забавный невежда. Ни о чем другом, кроме пушек и женщин, снова женщин и снова пушек, неспособен даже думать. Хочет поставить на свои танки 75-миллиметровку, а квартиру набить хористками».

Погрузка танка «Рено» FT на прицеп-платформу трактора «Латиль» (финская армия, 1924 г.)

Если конструкция «Рено» являла пример качественной и основательной конструкторской проработки (первые британские и французские танки все же несли в себе элемент кустарщины), то спешная постановка массового производства не могла не сказаться на качестве. «Рено» FT имели ряд дефектов и недоработок. Около трех четвертей в первых сериях танков имели серьезные неисправности, часть из них даже вернули на завод. Так, на март 1918 г. выявились недостаточная ширина и неплотное прилежание верхней створки лобового люка, недостаточная надежность коробки передач, отсутствие полного комплекта ЗИП (недостаток, так и не преодоленный к концу войны). Плохая уравновешенность башни затрудняла наводку, а торчавшие внутрь башни гайки петель люка-лаза создавали угрозу голове командира машины. Многие детали конструкции доводились уже в процессе производства или в мастерских. Нестабильность работы пульсатора, подававшего топливо в карбюратор, пытались устранить, заменив его мембрану фибровой прокладкой. но она быстро выходила из строя, и в июле 1918 г. в мастерских танковых частей нашли решение в виде особого латунного диска в карбюраторе. Наиболее чувствительными недостатками оказались быстрый износ и частые поломки пальцев и втулок шарнира гусеницы, а также частые разрывы ремня привода вентилятора (из-за чего двигатель быстро перегревался — при Суассоне 18 июля около 10 % «Рено» 503-го танкового полка не смогли пойти в бой по этой причине). С этим удалось справиться уже после войны. Многие недостатки компенсировались относительно высокой ремонтопригодностью кРено», которая позволяла возвращать их в строй быстрее, чем средние «Шнейдер» или «Сен-Шамон». Правда, хронический недостаток запасных частей и ремонтных средств заставил держать в подразделениях резервные танки для быстрого восстановления боеспособности. Более богатый, чем у других танков, опыт эксплуатации «Рено» FT позволил выявить и последовательность износа узлов и агрегатов, а значит, определить порядок технического обслуживания. Сначала из строя выходили гусеничные цепи и опорные катки, затем подвеска, затем — двигатель (если не считать типичные именно для «Рено» проблемы с пульсатором и ремнем вентилятора).

Прототип «артиллерийского танка» BS с установкой 75-мм орудия в корпусе, 1919 г.

Серийный танк «Рено» BS с установкой 75-мм гаубицы типа S в восьмигранной рубке, 1919 г. Машина несет трехцветную (желто-коричнево-зеленую) камуфляжную окраску, на балке ходовой части виден заводской номер шасси.

«Рено» FT-17 послужили базой и для ряда экспериментов. В 1918 г. на основе «Рено» FT был изготовлен первый танк-тральщик с ножевым минным тралом, оставшийся опытным, как и упомянутый ранее британский танк с катковым тралом. В виде опыта «Рено» FT пытались превратить также в плавающие машины, в транспортеры, носители фашин для преодоления широких рвов, самоходные прожектора. Шасси «Рено» FT было использовано для легкого 3,5-тонного трактора «Рено» H.J. для вспомогательных служб.

Тактико-технические характеристики «Рено» FT-17

пушечный / пулеметный Боевая масса, т 6,7/6,5 Экипаж, человек 2 Высота, м 2,14 Длина, м 4,1 (без «хвоста») и 5,0 (с «хвостом») Ширина, м 1,74 Клиренс, м 0,41-0,5 Толщина брони, мм: лоб корпуса 16 борт корпуса 16-8 башня 22 (литая) или 16 (клепаная) корма 8 крыша и днище 6 Вооружение: орудия 37-мм пушка «Гочкис» / – пулеметы – / 1×8-мм «Гочкис» модели 1914 г. Боекомплект: выстрелов 237 (225 снарядов и 12 картечей) / – патронов - / 4800 Двигатель: марка «Рено» тип карбюраторный число цилиндров 4 охлаждение жидкостное мощность, л.с. 39 (29,1 кВт) Запас топлива, л 90-105 Трансмиссия механическая Коробка передач четырехскоростная с реверсом Механизм поворота бортовые фрикционы и ленточные тормоза Ходовая часть (на один борт) 9 сдвоенных опорных катков, ведущее колесо заднего расположения Подвеска блокированная, с листовыми пружинами Тип гусеницы металлическая крупнозвенчатая, с открытым шарниром Количество траков в цепи 32 Тип зацепления зубовое Ширина трака, мм 324 Шаг трака, мм 250 Максимальная скорость, км/ч 7,8 Средняя скорость, км/ч 4,5 Запас хода, км 35 Удельное давление, кг/см² 0,48 / 0,47 Преодолеваемый подъем, град. 45 Ширина преодолеваемого рва, м 1,8 (с «хвостом») и 1,35 (без «хвоста») Высота стенки, м 0,6 Глубина брода, м 0,7 Толщина сваливаемого дерева, м 0,25 Тяговое усилие, кгс 5030

Боевая служба «Рено» была долгой и разнообразной, но главную свою славу они приобрели на Западном фронте Первой мировой войны. За период с 31 мая по 11 ноября 1918 г. они имели 3292 встречи с врагом, в ходе которых было потеряно 440 машин. Из всех танков, вышедших в бой в 1916–1918 гг., эти двухместные «малыши» оказались наиболее удачными и любимыми и своими экипажами, и пехотой, с которой они действовали в бою. По окончании войны французы гордо назвали «Рено» FT «Танком Победы» (равным образом пулемет «Гочкис» именовался «Пулеметом Победы»), а когда Луи Рено «за вклад в победу над врагом» получил второй знак ордена Почетного легиона (первый ему вручили еще в 1906 г.), это была награда и за создание легкого танка.

Опытные тяжелые танки

Необходимость в тяжелом «танке прорыва» была осознана французскими специалистами уже в конце 1916 г. после первых боев британских танков, однако во время войны дело не вышло из стадии опытов. 30 декабря 1916 г. в Консультативный комитет по штурмовой артиллерии поступил проект 38-тонного танка со 105-мм пушкой и 30-мм броней, предложенный «Средиземноморским обществом железоделательных заводов и верфей» (F.C.M.).

В феврале 1917 года Этьен предложил заменить пушку на 75-мм и изготовить два варианта — с механической и с электрической трансмиссией Консультативный комитет сформулировал требования и к бронированию — защита от снарядов германских 77-мм полевых пушек. В 1917 г. F.C.M. представила макет тяжелого танка 1A массой 50 т, с экипажем 6 человек, пушкой в башне, двумя пулеметами, толщиной брони 35–16 мм, длиной 9,2 и высотой 3,35 и, двигателем в 240 л.с., механической трансмиссией и скоростью хода около 5 км/ч. Вариант с электротрансмиссией представила чуть позже «Эстеблишмен Экспериментале Франсез» в виде 68-тонного танка 1C в котором установила два двигателя по 250 л.с., увеличила экипаж до 10 человек, а толщину брони — до 45 мм, длина танка составила 10 м. Дело продвигалось медленно вопрос о пушке и толщине брони все еще обсуждался в Комитете 25 ноября 1917 г. (через год после первого рассмотрения). К тому же в декабре 1917 г. французское правительство дало согласие на строительство в Шатору завода для сборки британо-американского Mk VIII.

9 февраля 1918 г. Этьен, оценив проведенные опыты, в специальном докладе отметил, что «именно тяжелые танки должны возглавлять атаку», а 21 февраля тяжелые танки включили в производственную программу. 13 июня приняли окончательное решение о создании французского тяжелого танка, и F.C.M. был выдан заказ на 300 танков типа 1C со сдачей в 1919 г. Однако довести машину до «железа» во время войны не удалось. В результате французская армия в качестве «временной» меры получила 77 британских тяжелых танков Mk V*.

Организация и подготовка французских танковых частей

Решение о формировании «штурмовой артиллерии» (или «специальной артиллерии») было принято в апреле 1916 г., в июле это поручили полковнику Этьену, сразу после его возвращения из Англии и знакомства с британскими работами над «сухопутными кораблями». Подчиненность нового рода оружия еще не была определена — ответственность периодически перекладывалась с вице-секретариата артиллерии на управление автомобильной службы и обратно. Даже когда в конце сентября — под явным впечатлением от первого успеха британских танков на Сомме — Этьена официально назначили командующим «штурмовой артиллерией», вице-секретариат артиллерии продолжал курировать все вопросы организации и оснащения новых частей.

Организация французских танковых батальонов, вступивших в бой 16 апреля 1917 г.

Первая группа офицеров из автомобильных частей, артиллерии и кавалерии прибыла в форт Тру д'Анфер в августе — сентябре 1916 г. В сентябре — октябре прибыли два первых танка «Шнейдер» и «Сен-Шамон» и несколько небронированных шасси для подготовки экипажей. Первоначальное обучение и сколачивание подразделения вели в Марли, начальную техническую подготовку — в лагере автомобильной службы Серкотт, а с декабря 1916 г. начал действовать лагерь в Шамплиэ, ставший главной базой французских танковых сил. Задачи и порядок подготовки впервые регламентировали приказом от 1 января 1917 г. — любопытно, что в нем новый командующий зафиксировал свое намерение превратить «штурмовую артиллерию» в «отборные части».

Для своих средних танков, в соответствии с их назначением, французы приняли «артиллерийскую» организацию. По мере поступления танков формировали батареи, причем сначала планировали иметь в каждой по 8 машин, но вскоре остановились на 4, а батареи решили по 4 сводить в группы (дивизионы, groupe). Группы обозначались индексом AS («штурмовая артиллерия») и порядковым номером. Первоначально планировали сводить в группах разнотипные машины для наиболее полного использования их возможностей, но очень скоро стали очевидны выгоды однотипной матчасти. На апрель 1917 г. штат группы «Шнейдер» (16 танков) включал 18 офицеров и 74 унтер-офицера и солдата, а группы «Сен-Шамон» при том же количестве машин — 18 офицеров и 106 унтер-офицеров и солдат.

Первую группу «Шнейдер» (AS1) сформировали фактически уже 25 декабря 1916 г., в том же декабре были созданы группы AS2, ASЗ, AS4, AS5, в феврале — марте 1917 г. — AS7, AS8, AS9, AS10, AS11, AS12, AS13, в апреле — AS6, AS14, AS15, AS16. Первую группу «Сен-Шамон» (AS31) сформировали 23 февраля 1917 г. На апрель 1917 г. имелось 15 групп «Шнейдер» (с AS1 по AS15) и 3 неполные группы «Сен-Шамон» (с AS31 по AS33), на август — соответственно 17 и 6. Для организации боевой и технической работы командир группы имел небольшой штаб. Несколько групп (дивизионов) сводили в батальоны (или «полковые группы», groupement). Батальон был уже административной, а не тактической единицей, поскольку в бою танки применялись в основном побатарейно. Первые три «полковые группы» составили: группа Боссю — 2, 4, 5, б, 9-я группы (дивизионы), группа Шобэ — 3, 7 и 8-я группы (дивизионы) «Шнейдер», группа Лефевра — 1-я, 10-я группы (дивизионы) «Шнейдер» и 31-я группа «Сен-Шамон».

Организация французских танковых батальонов на 23 октября 1917 г.

К концу февраля 1918 г. закончилось формирование групп средних танков, и французские танковые силы составили 4 батальона («полковых группы») танков «Шнейдер» по 4 группы в каждом и 4 батальона «Сен-Шамон» по 3 группы. В строю находилось 245 боеготовых танков «Шнейдер» и 222 «Сен-Шамон».

Батальонам («полковым группам») придавались отделения снабжения и ремонта (SSR). Стоит отметить, что как оснащение этих отделений, так и в целом система ремонта танков и снабжения запасными частями составляли постоянную проблему французских танковых сил и требовали от командования и личного состава большой изобретательности и просто героических усилий. Поставки комплектов запчастей фирмами-производителями постоянно срывались, поскольку им выгоднее было поставлять готовые танки. Новизна дела и организации постоянно тормозила внесение производителями конструктивных изменений в выпускаемые танки, а значит — повышение их надежности. Французская промышленность не была отмобилизована в той степени, как в Германии или Англии, и представители военного ведомства имели меньше рычагов влияния на ее деятельность. На надежность танков, сложность их снабжения и ремонта оказывал свое влияние и полукустарный способ производства. Для организации приемки, снабжения и ремонта в лагере Шамплиэ с 1 апреля 1917 г. находилось переданное из автомобильной службы постоянное (т. е. приписанное к лагерю) «отделение парка», летом того же года его дополнили «отделом главного парка» и спасательной группой. Но даже для оснащения стационарных мастерских в лагере Шамплиэ, взявших на себя часть работ по исправлению и модернизации машин, не хватало станков, инструмента и приспособлений.

В ноябре 1917-го — январе 1918 года появились «танковые силы групп армий» со своими командующими. Центр танковых сил Центральной группы армий разместили в Майльи, Восточной группы армий — в Мартиньи-ле-Бен — это позволило сократить время переброски танков в район боевых действий и время восстановления боеспособности танковых подразделений В январе создана также «вице-дирекция танковой службы» при военном министерстве — танки признали как род оружия (но не род войск).

Легкие танки, призванные быть спутниками пехоты, приняли «пехотный» тип организации. Тактической единицей был взвод легких танков из трех пушечных (танк командира взвода и командиров «полувзводов») и двух пулеметных — это позволило сократить время переброски танков в район боевых действий и время восстановления боеспособности танковых подразделений. В январе создана также «вице-дирекция танковой службы» при военном министерстве — танки признали как род оружия (но не род войск).

Легкие танки, призванные быть спутниками пехоты, приняли «пехотный» тип организации. Тактической единицей был взвод легких танков из трех пушечных (танк командира взвода и командиров «полувзводов») и двух пулеметных машин — видимо, под влиянием британского опыта сведения во взводах пушечных танков-«самцов» и пулеметных «самок». Рота должна была включать три боевых взвода, резервный эшелон из пяти запасных танков, взвод снабжения и ремонта (два пушечных, один пулеметный танк), ротную мастерскую, транспортный отряд. Танковые роты имели свою нумерацию — трехзначный номер, начинавшийся с «300» (с той же аббревиатурой AS, «специальная артиллерия»). Батальон должен был включать три роты плюс три танка командования батальона, всего — 30 пушечных, 41 пулеметный и 4 радиотанка. Последние должны были быть машинами командиров батальона и рот, но поскольку первые радиотанки стали поступать в июле 1918 г., командирскими машинами стали пушечные. В декабре 1917 г. запланировали сформировать 30 таких батальонов. Позже запасные танки были выведены из рот и установлен батальонный резерв в 25 танков, во время боя из них могли составляться дополнительные боевые роты. Задержки с поставками и большие потери во время боев приводили к тому, что такая организация поддерживалась чисто условно.

Организации французского танкового полка (501-й полк на май 1918 г.).

Хотя первая рота легких танков официально существовала с 1 января 1918 г., боевых танков она еще не имела. Контингент добровольцев для укомплектования рот легких танков с января по март составил: 1000 бойцов прежних танковых частей, 500 из автомобильных частей, 2300 из артиллерийских депо тыла, 500 рабочих, призванных с заводов. Прием танков, первоначальная подготовка экипажей проходили в лагере автомобильной службы Серкотт. Совместное обучение и тактическую подготовку экипажей и рот вели в лагере «штурмовой артиллерии» в Шамплиэ под руководством комсостава 508-го танкового полка. 18 февраля был официально сформирован — но еще не укомплектован — первый батальон легких танков (BCL — Battalion des chars legers) из рот AS 301, 302 и 303. Две легкотанковые роты, сформированные в марте, не имели танков по штату — на 21 марта имелось только 75 танков без вооружения.

Три первых батальона легких танков «Рено» были готовы к концу марта 1918 г., в мае сформировали еще 4 батальона, в июне — 3, в июле — 4, в августе — 5, в сентябре — 3, в октябре — 3, в первую неделю ноября — 1. Всего к перемирию 11 ноября 1918 г. сформировали 26 батальонов «Рено», и 27-й батальон заканчивал обучение в Серкотт, еще 3 проходили обучение.

Пулеметный танк «Рено» FT с клепаной башней на учебник занятиях. Обратим внимание на трехцветный камуфляж, имя но башне танка и знак взвода («пики») на корме корпуса. Судя по обозначениям, танк принадлежит 1-му выводу 1-й роты 1-го или 2-го батальонов.

После германского весеннего наступления в связи с опасностью потери Шамплиэ подготовку перевели в Буррон, а обучение экипажей радиотанков организовали в Мальи. 15 августа в Грез-сюр-Луен сформировали учебный танковый батальон из 4 учебных рот общей численностью 1000 человек.

В апреле 1918 г. решили укрупнить организацию французских танковых сил, в мае военный министр утвердил проект организации танковых полков (RAS — «полк специальной артиллерии», позднее танковый полк RCC), смешанного состава батальон средних танков и два батальона легких. Однако первый полк «штурмовой артиллерии» (501-й) сформировали 12 мая из 1, 2 и 3-го батальонов легких танков BCL. (всего около 200 танков). Последний (509-й) танковый полк сформировали в начале ноября. Для переброски по дорогам полкам «Рено» штатно придавали отряды по 25 грузовиков. Дабы организационно оформить танковые силы, придаваемые группам армий, полки с июля начали сводить в танковые бригады переменного состава — несколько полков плюс двухэшелонный ремонтно-восстановительный парк.

К концу войны французы установили среднюю норму усиления пехоты танками — атакующей пехотной дивизии придавался батальон «Рено». По мере убыли средних танков «Шнейдер» и «Сен-Шамон» их личный состав переводили в подразделения легких танков либо переформировывали в группы, в роты легких танков (несколько танков «Шнейдер» даже переделывали в бронированные транспортеры для «Рено» FT-17), 3-й батальон «Шнейдер» начали перевооружать тяжелыми Mk V*.

В достаточном количестве «Рено» стали поступать к концу лета 1918 г. — к августу было поставлено свыше 2000 машин, и производство продолжало нарастать. Еще два легкотанковых полка сформировали в июне, по одному в июле и августе. К сентябрю имелось около 20 французских и два американских батальонов «Рено» FT.

Средним и капитальным ремонтом танков «Рено» с августа 1918 г. занимался резервный парк в Бурроне — здесь специально построили несколько больших мастерских и ангар с оборудованными тупиками. В результате ремонтно-восстановительная служба французской «штурмовой артиллерии» состояла из отделений снабжения и ремонта при танковых группах и батальонах, ремонтных баз при «танковых силах групп армий» и парков в тылу (Шамплиэ, Буррон). В целом эта служба у французов оказалась поставлена хуже и действовала менее оперативно, чем у британцев, что отчасти компенсировалось большим выходом с заводов танков «Рено»

Французские танковые силы, как и британские, старались формировать из добровольцев. Личный состав «штурмовой артиллерии», понятно, набирали в основном из артиллерийских частей, тем более что он был лучше знаком с техническими вопросами. Правда, командование «штурмовой артиллерии» хотело получать больше опытных солдат-пехотинцев, лучше понимавших тактическую сторону, но с таковыми не хотела расставаться сама пехота, где также имелся хронический недостаток опытных унтер-офицеров. Общая подготовка экипажей и командиров французских танковых сил была хуже, чем британских, на нее выделялось меньше времени и средств. Характерна подготовка первых подразделений танков «Рено» весной — летом 1918 г., ограниченная 2–3 неделями. Первый батальон танков «Рено» спешно двинули на фронт в мае 1918 г., не успев провести не только учения в составе подразделений, но даже практических стрельб — их танкисты прошли уже в районе сосредоточения, перед тем как пойти в бой. Обучение «в бою» было наиболее типичным. Стоит отметить энтузиазм, упорство и мужество первых французских танкистов, которые в этих условиях сумели превратить «штурмовую артиллерию» действительно в «особые» части и проявить себя лучшим образом. 15 августа 1918 г. в Гре-сюр-Лен организовали учебный танковый батальон, но постоянная необходимость срочного пополнения боевых подразделений не позволяла и в нем провести методической подготовки. Здесь же обосновалась и школа радиосвязи, где готовились экипажи радиотанков.

Существенным, хотя и запоздалым шагом было создание в августе 1918 г. в Рекло, близ Бурлон, информационного центра, где читался специальный курс о боевом применении танков (с показом практического учения) для командиров пехотных дивизий и бригад французской, британской, итальянской, бельгийской армий, а также происходил обмен опытом между английскими и французскими офицерами-танкистами.

Обозначения и окраска танков. Экипировка экипажей

Французским танкистам, как и их британским коллегам, приходилось буквально с нуля решать вопросы наиболее подходящей окраски танков. Как и британцы, французы начали с пестрой пятнистой дезинформирующей окраски. Постепенно стандартным стал двухцветный камуфляж из сочетания больших неправильных округлых пятен бежевого (или желтого) и зеленого (сине-зеленого) цвета, переходивших с одной поверхности на другую. Но использовались также трех— (грязно-желтый — зеленый — коричневый) и четырехцветный (зеленый — желтый — бежевый — коричневый) рисунки камуфляжа. Иногда пятна окантовывали черными полосами. Танки окрашивались прямо на заводе вручную, так что подобный камуфляж по сочетанию расцветок, рисунку и форме пятен мог заметно отличаться. С увеличением выпуска танков их стали чаще направлять в войска с заводов в однотонной темно-зеленой окраске. Соответственно обстановке их могли пускать в бой в такой окраске или наносить камуфляж в депо или в самих подразделениях.

У Мальмезона в октябре 1917 г. французы рисовали на бронелистах черные ложные смотровые щели — таким образом удалось частично «отвлечь» германских стрелков от стрельбы по действительным смотровым щелям (подобный прием более чем за десять лет до того предсказывал Г. Уэллс в фантастическом рассказе о «путешествующих крепостях»).

На заводе «Рено» пятизначный серийный номер машины обычно наносился белым на балках ходовой части, мог наноситься и на лобовой части под крышками люка механика-водителя. Промышленные серии танков несли номера с 66 000 до 73 000. На бортах корпуса наносился порядковый (видимо, учетный) номер. При нанесении камуфляжа эти номера часто закрашивались. Однако экипажи в подразделениях нередко сами наносили номер машины на борту или корме башни и на внутренней стороне крышки люка механика-водителя — для быстрого опознавания в подразделении на марше.

Танки, как и в британской, и в германской армиях, несли собственные имена, дававшиеся порой не без специфического чувства юмора, — «Le Tigre» («тигр»), «Loulou» («Лу-Лу»), «Le Nain Jaune» («Желтый карлик»), «Veni, vidi, vici», «Fantomas», — также рисунки подков, аллегорических фигур, вензелей.

В 1918 г. в штурмовой артиллерии установилась система обозначения подразделений определенными значками и цветом. Значки наносили на бортах ближе к корме. Батальоны внутри танкового полка имели для значков цвета: 1-й — голубой, 2-й — красный, 3-й — желтый. Роты в батальоне различались геометрическими фигурами: 1-я-круг диаметром 350 мм, 2-я — квадрат со стороной 300 мм, 3-я — треугольник высотой 450 мм. Взводы внутри роты различались обозначением карточной масти («тузами»), вписанным в соответствующую геометрическую фигуру. 1-й — пики, 2-й — черви, 3-й — бубны, 4-й — трефы. Так, красные трефы в белом треугольнике нес «Рено» 4-го взвода 3-й роты (AS 315 по сквозной нумерации подразделений) 2-го батальона (5 BCL по сквозной нумерации) 502-го полка штурмовой артиллерии; голубые черви в белом круге — 2-й взвод 1-й роты 1-го батальона 505-го полка (эти танки, кстати, были первыми, переданными Польше). Подобная традиция сохранялась во французских танковых частях до Второй мировой войны. Поскольку танки распределялись подразделениями, принадлежность к полкам специально не обозначалась. Пулеметные танки во взводах «Рено» FT несли голубой флажок (вымпел) на колпаке башни, пушечные — красный. Это позволяло пехотинцам различать их и знать, какую поддержку они могут ожидать.

Французские танкисты использовали в основном полевую и повседневную форму артиллеристов. Из головных уборов распространились высокая пилотка, мягкое низкое кепи с подборочным ремешком, а также береты. В качестве эмблемы «штурмовая» («специальная») артиллерия использовала поначалу огнедышащего дракона (или саламандру) в венке со щитком с вензелем «AS». Но официальной ее эмблемой в октябре 1917 г. стал рыцарский шлем типа армэ, наложенный на традиционные скрещенные пушечные стволы. Красная эмблема нашивалась вверху левого рукава. На головной убор (обычно — на берет) стали нашивать знаки различия, эмблему «штурмовой артиллерии» и знак батареи или роты. Популярны стали длинные кожаные шоферские куртки. Для защиты головы экипажи «Рено» FT носили модернизированные шлемы Адриана модели 1918 г. голубой или оливковой окраски. В бою для защиты лица к шлему цепляли стальную или кожаную маску с очками-жалюзи и подвесной кольчужной «бородой». Офицеры и унтер-офицеры носили на поясном ремне кобуру с револьвером Mle 1892 или пистолетом «Руби» и кинжал в ножнах. В комплект снаряжения входил и противогаз в жестяном чехле. Дабы иметь возможность быстрее покинуть подбитый или загоревшийся танк, ни за что не цепляясь, танкисты в последний год войны часто не надевали ни противогаза, ни ремня, пистолет же предпочитали держать в кармане.

Эмблема «штурмовой артиллерии» официально принятая в октябре 1917 г.

Французский танкист в каске Адриана модели 1918 г. (с артиллерийской эмблемой) и в стальной маске с очками-жалюзи и подвесной кольчужной «бородой». Западный фронт, 1918 г.

Стоит коснуться изменений экипировки французских танкистов после войны хотя бы потому, что она оказала заметное влияние на экипировку танкистов в других странах. Уже в 1919 г. облегчили задний козырек шлема, а стальной отгиб и передний козырек заменили противоударным кожаным валиком, получив танковый шлем Mle 1919. В 1920-е годы изменилась и кожаная куртка танкистов, номер полка наносился белым, серым или зеленым цветом на петлицах на отвороте воротника.

Во второй половине 1930-х годов танкисты получили коричневую кожаную куртку, просторные брюки защитного цвета с завязками на лодыжках, новые ботинки, танковый шлем модели 1935 с усиленным валиком и улучшенным подвесом, без гребня, большие защитные очки (танкисты сражающейся Франции потом использовали этот шлем в сочетании с британской или американской экипировкой). Номер части на воротнике к началу Второй мировой войны уже не наносили — эта традиция вообще отходила в прошлое. Личным оружием танкистов мог теперь быть и пистолет Mle 1935 (MAS). Противогазная сумка — брезентовая.

Более 800 000 книг и аудиокниг! 📚

Получи 2 месяца Литрес Подписки в подарок и наслаждайся неограниченным чтением

ПОЛУЧИТЬ ПОДАРОК